'); } -->
| Internaional-Navistar Truck engine overhaul and rebuild kits |
RPM - RON'S PRECISION MACHINE, INC.
69 E. 580 N.
Santaquin, Utah 84655
1-801-754-5338 or Toll free 1-866-700-5877
| Contact us anytime OR by using your e-mail program and type in or copy & paste ron@rpmrons.com to send an e-mail with what you need. |
| Engine Rebuild Kit and Parts Online Catalog. |

| Overview |
|
The DT-408 diesel engine was first introduced in 1993. It is used in On-Highway truck and bus applications. This engine is also part of the PLN or Pump Line Nozzle engine family that includes the DT-466P (NGD) and I530P (NGD) engines. These three engines share many internal engine parts. Engine Type...........................................Diesel, 4-cycle Configuration.....................................In-Line 6-Cylinder Displacement..................................... 408. cu. In. (6.7L) Bore and Stroke.................................. 4.301 x 4.680 in .......................................................(109.2 x 118.9 mm) Combustion System.............................. Direct Injection Total Engine Weight (Dry).................. 1250. lb. (567.5 kg) The DT-408 can be identified by the permanent engine number stamped on the center top left side of the engine crankcase. The first three positions indicate the engine displacement. The fourth digit indicates either turbocharged, air-to-air charge air cooled or mechanical fuel Injection engine. The fifth digit indicates the use of the engine, for example M would indicate that the engine was built for truck use. The rest of the digits represent the specific engine serial number. A typical serial number would look like this: 408GM456789. |
| 31 |
M/D Truck DT408 Eng. H/D Truck DT408
Eng. 6.7L 408. OHV Turbo-Diesel L6 (12 Valve), 4.3005" Bore 1993-97 |
|||||
| CYL. HEAD & PARTS | ||||||
|
|
| Ref # | Qty | Gaskets | Years | Part No. | Size | Desc. |
| 3 | 1 | Valve Cover Gasket | 93-97 | FP1817510 $57.11 | . | . |
| 5 | 1 | Head Gasket | 93-97 | FP1817562 $101.70 | . | . |
| . | 1 | Head Gaskt Set | 93-97 | FP1822328 $192.26 | . | . |
| Ref # | Qty | VALVE | Years | Part No. | Size | Desc. |
| 19 |
6. |
Intake | 93-97 | FP1818580 $17.32 | . | 5/16" valve stem |
| 20 |
6. |
Exhaust | 93-97 | FP1824838 $33.28 | . | 5/16" valve stem |
| 24 | 24 | Keeper | 93-97 | FP1810944 $1.22 | . | 5/16" valve stem |
| Ref # | Qty | VALVE SEAT | Years | Part No. | Size | Desc. |
| 25 |
6. |
Exh. | 93-97 | FP575450 | STD | I.D. Top taper 1.524"; 1.6285" O.D., 1.3480" ID, .3650" Depth |
| 25 |
6. |
Int. | 93-97 | FP575043 | STD | I.D. Top taper 1.787"; 1.9990" OD, 1.7120" ID, .3860" Depth |
| Ref # | Qty | VALVE GUIDE | Years | Part No. | Size | Desc. |
| 26 | 12 | Guide | 93-97 | FP1820264 $4.36 | . | .315" ID, .565" O.A.L. |
| Ref # | Qty | VALVE SEAL | Years | Part No. | Size | Desc. |
| 41 | 12 | Valve stem Seal | 93-97 | FP1822245 $2.54 * | . | Exh. & Int.; To Ser. No. 956463; 5/16" Stem |
| 31 (cont.) |
M/D Truck DT408 Eng. H/D Truck DT408
Eng. 6.7L 408. OHV Turbo-Diesel L6 (12 Valve), 4.3005" Bore 1993-97 |
|||||
| Camshaft GROUP | ||||||
|
|
||||||
| Ref # | Qty | Camshaft TIMING | Years | Part No. | Size | Desc. |
| 42 | 1 | Woodruff Key | 97-93 | FP218211 $2.70 | . | Cam gear; 1/4" x 3/4" |
| Ref # | Qty | Camshaft / Lifter | Years | Part No. | Size | Desc. |
| 54 | 12 | Lifter | 97-93 | FP1809570 $69.85 | . | Roller type |
| FUEL SYSTEM & PARTS | ||||||
| . | Qty | FUEL Injection | Years | Part No. | Size | Desc. |
| . | 1 | Injector Nozzle Seat Gasket | 97-93 | FP675477 $1.18 | . | .060" thick |
| . | 6. | Grommet | 97-93 | FP682810 $1.56 | . | Dust cover |
| . | 6. | Fuel Injector Sleeve | 97-93 | FP675442 $11.91 | . | . |
| . | Qty | Turbo- Charger | Years | Part No. | Size | Desc. |
| . | 1 | Turbocharger Oil Inlet Gasket | 97-93 | FP253660 $1.81 | . | . |
| . | 1 | Turbocharger Mounting Gasket | 97-93 | FP1822120 $10.34 | . | . |
Page 65
|
31 (cont.) |
M/D Truck DT408 Eng. H/D Truck DT408
Eng. 6.7L 408. OHV Turbo-Diesel L6 (12 Valve), 4.3005" Bore 1993-97 |
| COOLING SYSTEM | |
|
|
| Ref # | Qty | WATER PUMP | Years | Part No. | Size | Desc. |
| 1 | 1 | Water Pump - Heavy Duty | 93-97 | FP1817687 | . | w/7 bolt mounting flange |
Page 66
|
31 (cont.) |
M/D Truck DT408 Eng. H/D Truck DT408
Eng. 6.7L 408. OHV Turbo-Diesel L6 (12 Valve), 4.3005" Bore 1993-97 |
|||||
| ENGINE BLOCK & PARTS | ||||||
|
|
| Ref # | Qty | Gaskets | Years | Part No. | Size | Desc. |
| 5 | 1 | Oil Pan Gasket | . | FP1826587 $44.28 | . | . |
| . | 1 | Chemicals | . | FP1816593 $34.85 | . | Oil pan; RTV Sealant |
| . | 1 | Oil Seal Kit | . | FP690437 $33.31 | . | Oil pump; Incl. seal & wear sleeve |
| Ref # | Qty | Cam Bearings | Years | Part No. | Size | Desc. |
| 19 | 1 | Cam Set | . | FP680117 $38.02 | STD | . |
|
31 (cont.) |
M/D Truck DT408 Eng. H/D Truck DT408
Eng. 6.7L 408. OHV Turbo-Diesel L6 (12 Valve), 4.3005" Bore 1993-97 |
|||||
| Crankshaft /OIL PUMP | ||||||
|
|
| Ref # | Qty |
SEALS - FRONT CRANK |
Years | Part No. | Size | Desc. |
|
6. |
1 | Oil seal kit | 93-97 | FP690437 $33.31 | . | Incl. seal & wear sleeve |
| Ref # | Qty |
SEALS - REAR CRANK |
Years | Part No. | Size | Desc. |
| 54 | 1 | Oil seal kit | 93-97 | FP181 | . | Incl. seal & wear sleeve |
| . | 1 | Wear sleeve | 93-97 | FP181 | . | . |
| Ref # | Qty | Main bearings | Years | Part No. | Size | Desc. |
| 38 |
6. |
Plain main bearing | 93-97 | FP182 | STD | Position 1-2-3-4-5-6 |
| 38 |
6. |
Plain main bearing | 93-97 | FP182 | 10 | Position 1-2-3-4-5-6 |
| 38 |
6. |
Plain main bearing | 93-97 | FP182 | 20 | Position 1-2-3-4-5-6 |
| 38 |
6. |
Plain main bearing | 93-97 | FP182 | 30 | Position 1-2-3-4-5-6 |
| 39 | 1 | Flanged Main Brg. | 93-97 | FP182 | STD | Position 7. |
| 39 | 1 | Flanged Main Brg. | 93-97 | FP182 | 10 | Position 7. |
| 39 | 1 | Flanged Main Brg. | 93-97 | FP182 | 20 | Position 7. |
| 39 | 1 | Flanged Main Brg. | 93-97 | FP182 | 30 | Position 7. |
| Ref # | Qty | OIL PUMP | Years | Part No. | Size | Desc. |
| 34 | 1 | Gasket | 93-97 | FP1816722 $2.91 | . | Oil suction tube gasket |
|
31 (cont.) |
M/D Truck DT408 Eng. H/D Truck DT408
Eng. 6.7L 408. OHV Turbo-Diesel L6 (12 Valve), 4.3005" Bore 1993-97 |
|||||
| CYLINDER COMPONENTS | ||||||
|
|
||||||
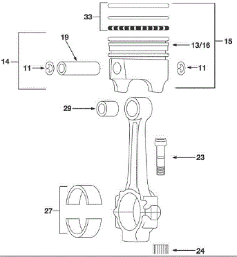
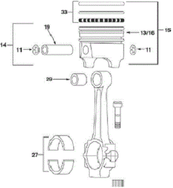
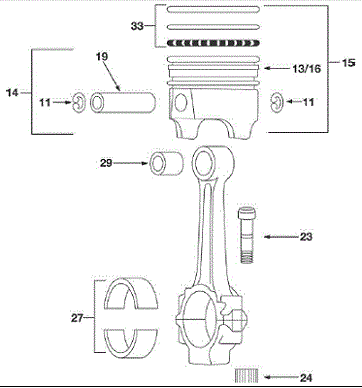
| Ref # | Qty | Liners | Years | Part No. | Size | Desc. |
| 2 | 6. | Liner w/o Sealing Ring | 97-93 | FP1815674 $104.75 | . | . |
| 3 | 6. | Cylinder Kit Complete | 94-93 | FP1822332 $375.08 | STD | DT408 NGD Engs.; All HP Engs. |
| 4 | 6. | Cyl. Liner Sealing Ring Kit | 97-93 | FP1822322 $12.37 | . | . |
| 4 | 6. | Sealing Ring, Liner | 97-93 | FP1817633 $5.04 | . | . |
| 4 | 6. | Sealing Ring, Liner | 97-93 | FP1842115 $10.56 | . | PTFE |
| Ref # | Qty | Pistons | Years | Part No. | Size | Desc. |
| 13 | 6. | Piston Body w/o Pin | 94-93 | FP1822217 $165.23 | STD | DT408 NGD Engs.; All HP Engs. |
| 19 | 6. | Pin | 97-93 | FP1818552 $20.56 | . | . |
| 11 | 12 | Piston Pin Retainer | 97-93 | FP1818702 $1.56 | . | . |
| 29 | 6. | Pin Bushing | 97-93 | FP1818598 $20.54 | . | . |
| Ref # | Qty |
Connecting RODS & BRGS. |
Years | Part No. | Size | Desc. |
| 27 | 6. | Rod Pair | 97-93 | FP1822389 $20.61 | STD | . |
| 27 | 6. | Rod Pair | 97-93 | FP1822486 $17.32 | 10 | . |
| 27 | 6. | Rod Pair | 97-93 | FP1822487 $22.24 | 20 | . |
| Ref # | Qty | PISTON RINGS | Years | Part No. | Size | Desc. |
| 33 | 6. | Ring Set Single Cylinder | 97-93 | FP1817247 $42.74 | . | . |
| KITS | . | . | . | . | ||
| . | Qty | Overhaul Kit | Years | Part No. | Size | Desc. |
| . | 1 | In-Frame Overhaul Kit | 97-93 |
FP IFKDT408NGD |
. | . |
| . | 1 | In-Frame Overhaul Kit | 97-93 | FP1826322 $1,529.39 | Equal to IH/Navistar "Work Kit" | |
| Overview |
|
The 6.9 LITER diesel engine was first introduced in 1983. It is used in On-Highway truck and bus applications. Engine Type....................................... Diesel, 4-cycle Configuration..........................................................V8 Displacement..........................420 cu. In. (6.9 Liters) Bore and Stroke..............................4.000 x 4.180 in. .....................................................(101.6 x 106.2 mm) Combustion System...........................Direct Injection Total Engine Weight (Dry).................860 lb. (390 kg) The 6.9L can be identified by the permanent engine number stamped on the front top left side of the engine. The first three positions indicate the engine displacement. The fourth digit indicates either naturally aspirated or turbocharged. The fifth and sixth digits indicate the use of the engine, for example M2 would indicate that the engine was built for truck use. The seventh digit indicates what country the engine was built in, for example the letter U indicates that the engine was built in the U.S.A. The rest of the digits represent the specific engine serial number. Early 6.9L engines with serial numbers below 59208 are known as 6.9A series and engines with serial number 59209 and higher are known as B engines. A typical serial number would look like this: 69LDM2U456789. |
| Kit Number | Component No. | QTY. | PART Size | PART Desc. | Part Appliction |
| FPIFK6.9E | FP1805944WR | 8 | Std. | Piston w/Pin, Retainer & Rings | For engines with S/N 59208 and below |
| FP1805946WR | 8 | 20 | Piston w/Pin, Retainer & Rings | For engines with S/N 59208 and below | |
| FP1805947WR | 8 | 30 | Piston w/Pin, Retainer & Rings | For engines with S/N 59208 and below | |
| FP1805944WR 40 | 8 | 40 | Piston w/Pin, Retainer & Rings | For engines with S/N 59208 and below | |
| FP1802200 $22.13 | 8 | Std. | Rod Bearing Pair | . | |
| FP1802201 $22.13 | 8 | 10 | Rod Bearing Pair | . | |
| FP1802202 $20.61 | 8 | 20 | Rod Bearing Pair | . | |
| FP1802203 $22.13 | 8 | 30 | Rod Bearing Pair | . | |
| FP1802220 $60.29 | 1 | Std. | Main Bearing, Flanged | . | |
| FP1802221 $60.29 | 1 | 10 | Main Bearing, Flanged | . | |
| FP1802222 $60.29 | 1 | 20 | Main Bearing, Flanged | . | |
| FP1802223 $60.29 | 1 | 30 | Main Bearing, Flanged | . | |
| FP1802216 $25.28 | 4 | Std. | Main Bearing, Plain | . | |
| FP1802217 $25.28 | 4 | 10 | Main Bearing, Plain | . | |
| FP1802218 $25.28 | 4 | 20 | Main Bearing, Plain | . | |
| FP1802219 $25.28 | 4 | 30 | Main Bearing, Plain | . | |
| 260-6054 | 1 | . | Oil Pan Gasket Set | . | |
| FP1811049 $158.79 | 1 | . | Head Gasket Set | . | |
| FP1813067 $106.34 | 1 | . | Valley Pan Gasket Set | . | |
| FP1807974 $29.99 | 1 | . | Thermostat Kit | 192 degree Thermostat |
Page 70
International/Navistar Truck
6.9L In-Frame Overhaul Late engines
| Kit Number | Component No. | QTY. | PART Size | PART Desc. | Part Appliction |
| FPIFK6.9L | FP1805816WR $220.96 | 8 | Std. | Piston w/Pin, Retainer & Rings | For engines with S/N 59209 and above |
| FP1805818WR $220.96 | 8 | 20 | Piston w/Pin, Retainer | For engines with S/N 59209 | |
| FP1805819WR $215.57 | 8 | 30 | Piston w/Pin, Retainer | For engines with S/N 59209 | |
| FP1805816WR $220.96 40 | 8 | 40 | Piston w/Pin, Retainer | For engines with S/N 59209 | |
| FP1802200 $22.13 | 8 | Std. | Rod Bearing Pair | . | |
| FP1802201 $22.13 | 8 | 10 | Rod Bearing Pair | . | |
| FP1802202 $20.61 | 8 | 20 | Rod Bearing Pair | . | |
| FP1802203 $22.13 | 8 | 30 | Rod Bearing Pair | . | |
| FP1802220 $60.29 | 1 | Std. | Main Bearing, Flanged | . | |
| FP1802221 $60.29 | 1 | 10 | Main Bearing, Flanged | . | |
| FP1802222 $60.29 | 1 | 20 | Main Bearing, Flanged | . | |
| FP1802223 $60.29 | 1 | 30 | Main Bearing, Flanged | . | |
| FP1802216 $25.28 | 4 | Std. | Main Bearing, Plain | . | |
| FP1802217 $25.28 | 4 | 10 | Main Bearing, Plain | . | |
| FP1802218 $25.28 | 4 | 20 | Main Bearing, Plain | . | |
| FP1802219 $25.28 | 4 | 30 | Main Bearing, Plain | . | |
| 260-6054 | 1 | . | Oil Pan Gasket Set | . | |
| FP1811049 $158.79 | 1 | . | Head Gasket Set | . | |
| FP1813067 $106.34 | 1 | . | Valley Pan Gasket Set | . | |
| FP1807974 $29.99 | 1 | . | Thermostat Kit | 192 degree Thermostat |
| Kit Number | Component No. | QTY. | PART Size | PART Desc. | Part Appliction |
| FPIFK6.9EOH | FP1805944WR | 8 | Std. | Piston w/Pin, Retainer & Rings | For engines with S/N 59208 and below |
| FP1805946WR | 8 | 20 | Piston w/Pin, Retainer & Rings | For engines with S/N 59208 and below | |
| FP1805947WR | 8 | 30 | Piston w/Pin, Retainer & Rings | For engines with S/N 59208 and below | |
| FP1805944WR 40 | 8 | 40 | Piston w/Pin, Retainer & Rings | For engines with S/N 59208 and below | |
| FP1804000 $14.15 | . | Piston Pin Bushing | . | ||
| FP1802200 $22.13 | Std. | Rod Bearing Pair | . | ||
| FP1802201 $22.13 | 8 | 10 | Rod Bearing Pair | . | |
| FP1802202 $20.61 | . | 20 | Rod Bearing Pair | . | |
| FP1802203 $22.13 | 30 | Rod Bearing Pair | . | ||
| FP1802220 $60.29 | . | Std. | Main Bearing, Flanged | . | |
| FP1802221 $60.29 | 10 | Main Bearing, Flanged | . | ||
| FP1802222 $60.29 | . | 20 | Main Bearing, Flanged | . | |
| FP1802223 $60.29 | 30 | Main Bearing, Flanged | . | ||
| FP1802216 $25.28 | Std. | Main Bearing, Plain | . | ||
| FP1802217 $25.28 | 10 | Main Bearing, Plain | . | ||
| FP1802218 $25.28 | . | 20 | Main Bearing, Plain | . | |
| FP1802219 $25.28 | 30 | Main Bearing, Plain | . | ||
| PGN6.9C | . | . | Overhaul Gasket Set | . | |
| FP1804003 $4.28 | . | Connecting Rod Bolt | . | ||
| FP1805866 $1.29 | . | . | Connecting Rod Nut | . | |
| FP1807974 $29.99 | . | Thermostat Kit | 192 degree Thermostat |
Page 72
International/Navistar Truck
6.9L Complete Engine Overhaul - Late engine
| Kit Number | Component No. |
QTY. |
PART Size | PART Desc. | Part Appliction |
| FPIFK6.9EOH | FP1805944WR | 8 | Std. | Piston w/Pin, Retainer & Rings | For engines with S/N 59208 and below |
| FP1805946WR | 8 | 20 | Piston w/Pin, Retainer & Rings | For engines with S/N 59208 and below | |
| FP1805947WR | 8 | 30 | Piston w/Pin, Retainer & Rings | For engines with S/N 59208 and below | |
| FP1805944WR 40 | 8 | 40 | Piston w/Pin, Retainer & Rings | For engines with S/N 59208 and below | |
| FP1804000 $14.15 | . | . | Piston Pin Bushing | . | |
| FP1802200 $22.13 | Std. | Rod Bearing Pair | . | ||
| FP1802201 $22.13 | . | 10 | Rod Bearing Pair | . | |
| FP1802202 $20.61 | 20 | Rod Bearing Pair | . | ||
| FP1802203 $22.13 | . | 30 | Rod Bearing Pair | . | |
| FP1802220 $60.29 | Std. | Main Bearing, Flanged | . | ||
| FP1802221 $60.29 | 10 | Main Bearing, Flanged | . | ||
| FP1802222 $60.29 | 20 | Main Bearing, Flanged | . | ||
| FP1802223 $60.29 | . | 30 | Main Bearing, Flanged | . | |
| FP1802216 $25.28 | Std. | Main Bearing, Plain | . | ||
| FP1802217 $25.28 | . | 10 | Main Bearing, Plain | . | |
| FP1802218 $25.28 | 20 | Main Bearing, Plain | . | ||
| FP1802219 $25.28 | . | 30 | Main Bearing, Plain | . | |
| PGN6.9C | . | Overhaul Gasket Set | . | ||
| FP1804003 $4.28 | . | . | Connecting Rod Bolt | . | |
| FP1805866 $1.29 | . | Connecting Rod Nut | . | ||
| FP1807974 $29.99 | 1 | . | Thermostat Kit | 192 degree Thermostat |
Page 73
International/Navistar Truck
| 32 |
M/D Truck 6.9L Diesel Eng. H/D Truck
6.9L Diesel Eng. 6.9L 420. OHV Diesel V8 (IDI), 4" Bore 1980-90 |
|||||
| CYL. HEAD & PARTS | ||||||
|
|
||||||
| Ref # | Qty | Gaskets | Years | Part No. | Size | Desc. |
| 3 | 2 | Valve Cover Gasket | 88-82 | FP1804052 $17.32 | . | . |
| 5 | 2 | Head Gasket | 88-82 | FP1804259 $92.08 | . | . |
| . | 1 | Head gasket set | 88-82 | FP1811049 $158.79 | . | Int. manifold gskt. not incl. |
| Ref # | Qty | VALVE | Years | Part No. | Size | Desc. |
| 19 | 8 | Intake | 88-82 | FP1804330 $23.71 | . | Chrome plated stem; 1.8770" Head Dia., .3719" Stem Dia., 5.6880" O.A.L. |
| 20 | 8 | Exhaust | 88-82 | FP1811191 $22.05 | . | Chrome plated stem; 1.5950" Head Dia., .3719" Stem Dia., 5.6700" O.A.L. |
| 24 | 32 | Keeper | 88-82 | FP41339 $1.16 | . | 1 groove; Square cut key groove |
| 24 | 32 | Keeper | 88-82 | VK138 $1.02 | . | 1 groove; Square cut key groove; Carton pack 32 |
| 24 | 32 | Keeper | 88-82 | VK138R $0.48 | . | 1 groove; Square cut key groove; Hardened |
| Ref # | Qty | VALVE SEAT | Years | Part No. | Size | Desc. |
| 25 | 8 | Exh. | 88-83 | FP1805249 $12.05 | . | 1.6690" OD, 1.3700" ID, .2710" Depth |
| 25 | 8 | Int. | 88-83 | FP1805250 $11.27 | . | 1.9425" OD, 1.6875" ID, .2480" Depth |
| Ref # | Qty | VALVE GUIDE | Years | Part No. | Size | Desc. |
| 26 | 16 | Guide | 88-83 | FP1805407 $5.12 | . | Exh. & Int.; .3750" ID, 2.6000" O.A.L. |
| Ref # | Qty | VALVE SPRING | Years | Part No. | Size | Desc. |
| 27 | 16 | Spring | 88-83 | FP317365 | . | Incl. damper; 2.0500" Free Height |
| Ref # | Qty | PUSH RODS | Years | Part No. | Size | Desc. |
| . | 16 | Push Rod | 88-82 | FP1804338 $4.28 | . | Install w/copper colored ball toward rocker arm; 9.9890" O.A.L. |
| Ref # | Qty | VALVE MISC. | Years | Part No. | Size | Desc. |
| 32 | 16 | Rotocap | 88-83 | FP1804467 $18.91 | . | . |
| Ref # | Qty | VALVE SEAL | Years | Part No. | Size | Desc. |
| 41 | 16 | Valve Stem Seal | 88-83 | FP681234 $1.02 | . | Umbrella type |
| 41 | 16 | Valve Stem Seal | 88-83 | FP1804420 $6.15 | . | Umbrella type; Fits Std. to .015" O/S valve stem; Rubber. |
| 32 (cont.) |
M/D Truck 6.9L Diesel Eng. H/D Truck
6.9L Diesel Eng. 6.9L 420. OHV Diesel V8 (IDI), 4" Bore 1980-90 |
|||||
| CYL. HEAD & PARTS (cont.) | ||||||
| Ref # | Qty | ROCKER PARTS | Years | Part No. | Size | Desc. |
| . | 8 | Arm Assy. | 88-82 | R1119 $64.74 | . | Incl. 2-arms, 2-pivots & 1-retainer |
| 67 | 16 | Arm | 88-82 | R949 $19.41 | . | Incl. 1-rocker arm |
| IGNITION | ||||||
| . | Qty | IGNITION | Years | Part No. | Size | Desc. |
| . | 8 | Glow Plug | 88-82 | FP1819649 $26.89 | . | From Ser. No. 246734; Exc. Ser. Nos. 256300 through 256314, 256493, 268092 through 268106 |
| . | 8 | Glow Plug | 88-82 | FP1804211 $26.93 | . | To Ser. No. 246733 and Ser. Nos. 256300 through 256314, 256493, 268092 through 268106 |
| INT & EXH MANIFOLDS | ||||||
| . | Qty | Int. & Exh. Manifolds | Years | Part No. | Size | Desc. |
| . | 1 | Valley Pan Gasket Set | 90-80 | FP1813067 $106.34 | . | . |
| Camshaft GROUP | ||||||
|
|
||||||
| Ref # | Qty | TIMING | Years | Part No. | Size | Desc. |
| . | 1 | Gear Set | 88-82 | 221-3342S $436.72 | . | Incl. 1 221-3342S $436.72 |
| Ref # | Qty | Camshaft / Lifter | Years | Part No. | Size | Desc. |
| 47 | 1 | Camshaft | 88-82 | CS771 $557.08 | . | . |
| 54 | 16 | Lifter | 88-82 | FP1804353 $23.75 | . | Hyd. rlr. |
| . | 1 | Prelube | 88-82 | 55-400 $7.22 | . | 4 oz. bottle; 1.5 oz. packet No. 55-403 $2.30 also avail. |
| FUEL SYSTEM & PARTS | ||||||
| . | Qty | FUEL FILTERS & PUMP | Years | Part No. | Size | Desc. |
| . | 1 | Mechanical Fuel Pump | 88-83 | FP1804495 $120.65 | . | . |
|
32 (cont.) |
M/D Truck 6.9L Diesel Eng. H/D Truck
6.9L Diesel Eng. 6.9L 420. OHV Diesel V8 (IDI), 4" Bore 1980-90 |
|||||
| COOLING SYSTEM | ||||||
|
|
| Ref # | Qty | WATER PUMP | Years | Part No. | Size | Desc. |
| 1 | 1 | Water Pump - Heavy Duty | 88-83 | FP1809374 $322.67 | . | . |
| 12 | 1 | Water Pump Gasket | 88-83 | FP1804136 $19.00 | . | . |
| Ref # | Qty | Thermostat | Years | Part No. | Size | Desc. |
| 20 | 1 | Thermostat | 88-82 | FP1807945 $28.45 | . | 192 Deg. |
| 21 | 1 | Thermostat Kit | 88-82 | FP1807974 $29.99 | . | 192 Deg.; Incl. gskt. |
| 22 | 1 | Thermostat Gasket | 88-82 | FP1804032 $5.04 | . | . |
|
32 (cont.) |
M/D Truck 6.9L Diesel Eng. H/D Truck
6.9L Diesel Eng. 6.9L 420. OHV Diesel V8 (IDI), 4" Bore 1980-90 |
|||||
| ENGINE BLOCK & PARTS | ||||||
|
|
||||||
| Ref # | Qty | Gaskets | Years | Part No. | Size | Desc. |
| 3 | 1 | Front Crankcase Cover Gasket | 88-82 | FP1804480 $37.92 | . | . |
| 6. | 1 | Oil Pan Gasket Set | 90-80 | 260-6054 | . | . |
| . | 1 | Chemicals | 88-82 | FP446839 $12.37 | . | Front cover; RTV Sealant |
| Ref # | Qty | GASKET SETS | Years | Part No. | Size | Desc. |
| . | 1 | Lower Gasket Set | 88-82 | FP1802213 $92.05 | . | . |
| . | 1 | Kit Gasket Set | 90-80 | 260-1672 $230.46 | . | Int. manifold gskt. not incl.; Premium valve stem seals incl. |
| Ref # | Qty | Cam Bearings | Years | Part No. | Size | Desc. |
| 19 | 1 | Cam Set | 88-82 | FP1804475 $60.32 | STD | . |
| Ref # | Qty | FREEZE PLUGS | Years | Part No. | Size | Desc. |
| . | 1 | Stainless Block Plug Kit | 88-84 | 381-8056 $34.34 | . | Incl. 7. centerless ground OD, stainless steel block plugs |
|
32 (cont.) |
M/D Truck 6.9L Diesel Eng. H/D Truck
6.9L Diesel Eng. 6.9L 420. OHV Diesel V8 (IDI), 4" Bore 1980-90 |
|||||
| Crankshaft/OIL PUMP | ||||||
|
|
||||||
| Ref # | Qty |
SEALS - FRONT CRANK |
Years | Part No. | Size | Desc. |
| 47 | 1 | Oil Seal | 88-83 | FP1804009 $36.35 | . | Viton® |
| . | 1 | Oil Seal Kit | 88-82 | 5066 44.99 | . | (Seal & Sleeve) |
| Ref # | Qty |
SEALS - REAR CRANK |
Years | Part No. | Size | Desc. |
| 7. | 1 | Oil Seal | 88-83 | FP1816559 $39.69 | . | . |
| 7. | 1 | Oil Seal | 88-82 | 39608 53.23 | . | PTFE |
| 7. | 1 | Oil Seal | 88-82 | 3893V 85.70 | . | Viton® |
| 8 | 1 | Oil Seal Kit | 88-83 | FP1819733 $63.38 | . | . |
| 9 | 1 | Wear Sleeve | 88-83 | FP1816569 $36.35 | . | . |
| Ref # | Qty | Main bearings | Years | Part No. | Size | Desc. |
| . | 1 | Main Set | 88-82 | 5110M $279.15 |
Std-10 20-30 |
. |
| 38 | 4 | Plain Main Brg. | 88-82 | FP1802216 $25.28 | STD | Position 1-2-4-5 |
| 38 | 4 | Plain Main Brg. | 88-82 | FP1802217 $25.28 | 10 | Position 1-2-4-5 |
| 38 | 4 | Plain Main Brg. | 88-82 | FP1802218 $25.28 | 20 | Position 1-2-4-5 |
| 38 | 4 | Plain Main Brg. | 88-82 | FP1802219 $25.28 | 30 | Position 1-2-4-5 |
| 39 | 1 | Flanged Main Brg. | 88-82 | FP1802220 $60.29 | STD | Position 3 |
| 39 | 1 | Flanged Main Brg. | 88-82 | FP1802221 $60.29 | 10 | Position 3 |
| 39 | 1 | Flanged Main Brg. | 88-82 | FP1802222 $60.29 | 20 | Position 3 |
| 39 | 1 | Flanged Main Brg. | 88-82 | FP1802223 $60.29 | 30 | Position 3 |
| Ref # | Qty | OIL PUMP | Years | Part No. | Size | Desc. |
| 11 | 1 | Oil Pump | 88-83 | FP1805398 $279.68 | . | . |
|
32 (cont.) |
M/D Truck 6.9L Diesel Eng. H/D Truck
6.9L Diesel Eng. 6.9L 420. OHV Diesel V8 (IDI), 4" Bore 1980-90 |
|||||
| CYLINDER COMPONENTS | ||||||
|
|
||||||
| Ref # | Qty | Pistons | Years | Part No. | Size | Desc. |
| 13 | 8 | Piston Body w/o Pin | 88-84 | FP1805851 $136.89 | STD | From Ser. No. 59208 |
| 13 | 8 | Piston Body w/o Pin | 88-84 | FP1441102 $138.20 | 20 | From Ser. No. 59208 |
| 13 | 8 | Piston Body w/o Pin | 88-84 | FP1805854 $142.91 | 30 | From Ser. No. 59208 |
| 13 | 8 | Piston Body w/o Pin | 88-84 | FP180585140 $136.89 | 40 | From Ser. No. 59208 |
| 13 | 8 | Piston Body w/o Pin | 83-82 | FP1805231 $151.34 | 20 | To Ser. No. 59207 |
| 13 | 8 | Piston Body w/o Pin | 83-82 | FP1805232 $153.60 | 30 | To Ser. No. 59207 |
| 13 | 8 | Piston Body w/o Pin | 83-82 | FP180521240 $151.34 | 40 | To Ser. No. 59207 |
| 13 | 8 | Piston Body w/o Pin | 83-82 | FP1805851 $136.89 | STD | To Ser. No. 59207; Replace in sets only |
| 13 | 8 | Piston Body w/o Pin | 83-82 | FP1441102 $138.20 | 20 | To Ser. No. 59207; Replace in sets only |
| 13 | 8 | Piston Body w/o Pin | 83-82 | FP1805854 $142.91 | 30 | To Ser. No. 59207; Replace in sets only |
| 13 | 8 | Piston Body w/o Pin | 83-82 | FP180585140 $136.89 | 40 | To Ser. No. 59207; Replace in sets only |
| 14 | 8 | Piston Kit w/Pin & Retainers | 88-84 | FP1805816 $156.89 | STD | From Ser. No. 59208 |
| 14 | 8 | Piston Kit w/Pin & Retainers | 88-84 | FP1805818 $156.89 | 20 | From Ser. No. 59208 |
| 14 | 8 | Piston Kit w/Pin & Retainers | 88-84 | FP1805819 $160.42 | 30 | From Ser. No. 59208 |
| 14 | 8 | Piston Kit w/Pin & Retainers | 83-82 | FP1805816 $156.89 | STD | To Ser. No. 59207; Replace in sets only |
| 14 | 8 | Piston Kit w/Pin & Retainers | 83-82 | FP1805818 $156.89 | 20 | To Ser. No. 59207; Replace in sets only |
| 14 | 8 | Piston Kit w/Pin & Retainers | 83-82 | FP1805819 $160.42 | 30 | To Ser. No. 59207; Replace in sets only |
| 15 | 8 | Piston w/Pin, Retainer, Rings | 88-84 | FP1805816WR $220.96 | STD | From Ser. No. 59208 |
| 15 | 8 | Piston w/Pin, Retainer, Rings | 88-84 | FP1805818WR $220.96 | 20 | From Ser. No. 59208 |
| 15 | 8 | Piston w/Pin, Retainer, Rings | 88-84 | FP1805819WR $215.57 | 30 | From Ser. No. 59208 |
| 15 | 8 | Piston w/Pin, Retainer, Rings | 83-82 | FP1805816WR $220.96 | STD | To Ser. No. 59207; Replace in sets only |
| 15 | 8 | Piston w/Pin, Retainer, Rings | 83-82 | FP1805818WR $220.96 | 20 | To Ser. No. 59207; Replace in sets only |
| 15 | 8 | Piston w/Pin, Retainer, Rings | 83-82 | FP1805819WR $215.57 | 30 | To Ser. No. 59207; Replace in sets only |
| 16 | 8 | Cast Piston | 88-84 | FPH729CP $78.92 | STD | From 10/3/83; Hypereutectic; 2-5/64", 1-7/64" Ring Groove, 1.937" CD, 1.1100" Pin Dia., Ricardo Cup Head; DUROSHIELD® skirt coated piston |
| 16 | 8 | Cast Piston | 88-84 | FPH729CP20 $78.92 | 20 | From 10/3/83; Hypereutectic; 2-5/64", 1-7/64" Ring Groove, 1.937" CD, 1.1100" Pin Dia., Ricardo Cup Head; DUROSHIELD® skirt coated piston |
Page 79
International/Navistar Truck
|
32 (cont.) |
M/D Truck 6.9L Diesel Eng. H/D Truck
6.9L Diesel Eng. 6.9L 420. OHV Diesel V8 (IDI), 4" Bore 1980-90 |
|||||
| CYLINDER COMPONENTS (cont.) | ||||||
| Ref # | Qty | Pistons (cont.) | Years | Part No. | Size | Desc. |
| 16 | 8 | Cast Piston | 88-84 | FPH729CP30 $78.92 | 30 | From 10/3/83; Hypereutectic; 2-5/64", 1-7/64" Ring Groove, 1.937" CD, 1.1100" Pin Dia., Ricardo Cup Head; DUROSHIELD® skirt coated piston |
| 16 | 8 | Cast Piston - Individual | 88-84 | FPWH729CP $78.48 | STD | From 10/3/83; Hypereutectic; 2-5/64", 1-7/64" Ring Groove, 1.937" CD, 1.1100" Pin Dia., Ricardo Cup Head; DUROSHIELD® skirt coated piston |
| 16 | 8 | Cast Piston - Individual | 88-84 | FPWH729CP20 $78.48 | 20 | From 10/3/83; Hypereutectic; 2-5/64", 1-7/64" Ring Groove, 1.937" CD, 1.1100" Pin Dia., Ricardo Cup Head; DUROSHIELD® skirt coated piston |
| 16 | 8 | Cast Piston - Individual | 88-84 | FPWH729CP30 $78.48 | 30 | From 10/3/83; Hypereutectic; 2-5/64", 1-7/64" Ring Groove, 1.937" CD, 1.1100" Pin Dia., Ricardo Cup Head; DUROSHIELD® skirt coated piston |
| 19 | 8 | Pin | 88-82 | FP1804321 $18.97 | . | . |
| 11 | 16 | Piston Pin Retainer | 88-82 | FP1804308 $2.73 | . | . |
| 29 | 8 | Pin Bushing | 88-82 | FP1804000 $14.15 | . | . |
| Ref # | Qty |
Connecting RODS & BRGS. |
Years | Part No. | Size | Desc. |
| 23 | 16 | Con. Rod Bolt | 88-83 | FP1804003 $4.28 | . | . |
| 24 | 16 | Con. Rod Nut | 88-83 | FP1805866 $1.29 | . | . |
| 27 | 8 | Rod Pair | 88-82 | FP1802200 $22.13 | STD | . |
| 27 | 8 | Rod Pair | 88-82 | FP1802201 $22.13 | 10 | . |
| 27 | 8 | Rod Pair | 88-82 | FP1802202 $20.61 | 20 | . |
| 27 | 8 | Rod Pair | 88-82 | FP1802203 $22.13 | 30 | . |
| Ref # | Qty | PISTON RINGS | Years | Part No. | Size | Desc. |
| 33 | 8 | Ring Set Single Cylinder | 88-84 | FP1802210 $29.26 | 20 | . |
| 33 | 8 | Ring Set Single Cylinder | 88-84 | FP1802211 $36.57 | 30 | . |
| 33 | 8 | Ring Set Single Cylinder | 88-84 | FP1802212 $39.48 | 40 | . |
| 33 | 8 | Ring Set Single Cylinder | 88-84 | FP1802208 $30.15 | STD | 2-5/64, 1-7/64; 2nd ring gap is .060-.075" like O.E. ring |
| 33 | 8 | Ring Set Single Cylinder | 83-82 | FP1802210 $29.26 | 20 | Use w/FP1441102 or FP1805818 |
| 33 | 8 | Ring Set Single Cylinder | 83-82 | FP1802208 $30.15 | STD | Use w/FP1805851 or FP1805816; 2-5/64, 1-7/64; 2nd ring gap is .060-.075" like O.E. ring |
| 33 | 8 | Ring Set Single Cylinder | 83-82 | FP1802212 $39.48 | 40 | Use w/FP1805851-40 or FP1805816-40 |
| 33 | 8 | Ring Set Single Cylinder | 83-82 | FP1802211 $36.57 | 30 | Use w/FP1805854 or FP1805819 $160.42 |
| KITS | ||||||
| . | Qty | Overhaul Kit | Years | Part No. | Size | Desc. |
| . | 1 | In-Frame Overhaul Kit | 88-82 | FPIFK69L $1,885.99 | . | . |
| . | 1 | Complete Overhaul Kit | 88-82 | FPIFK69LOH $2,001.93 | . | . |
| Overview |
|
The 7.3 LITER diesel engine was first introduced in 1988. The 7.3 Liter designation was used until 1995. In late 1993, the 7.3L DIT/T444E version of the engine family was introduced and continues today as the T444E. Both versions are used in On-Highway truck and bus applications. Engine Type.......................................... Diesel, 4-cycle Configuration.............................................................V8 Displacement.............................444 cu. In. (7.3 Liters) Bore and Stroke.................................4.110 x 4.180 in. .......................................................(104.4 x 106.2 mm) Combustion System...................7.3L = Direct Injection ....................................................and Indirect Injection .......................................T444E = Direct Injection only. Total Engine Weight (Dry)...........7.3L = 860 lb. (390 kg) ...............................................T444E = 930 lb. (422 kg) The 7.3L can be identified by the permanent engine number stamped on the front top left side of the engine. The first three positions indicate the engine displacement. The fourth digit indicates either naturally aspirated or turbocharged. The fifth and sixth digits indicate the use of the engine, for example M2 would indicate that the engine was built for truck use. The seventh digit indicates what country the engine was built in, for example the letter U indicates that the engine was built in the U.S.A. The rest of the digits represent the specific engine serial number. The 7.3L engine serial numbers begin with 500001. A typical serial number would look like this: 73LFM2U456789. The T444E can be identified by the serial number stamped on the lower rear left hand side of the engine crankcase, just right of the lube oil filter header. The 7.3DIT/T444E engine serial numbers begin with 000500. |
| Kit Number | Component No. | QTY. | PART Size | PART Desc. | Part Appliction |
| FPIFK7.3E | FP1813119WR | 8 | Std. | Piston w/Pin, Retainer & Rings | To Serial No 598753 |
| FP1813120WR | 8 | 10 | Piston w/Pin, Retainer & Rings | To Serial No 598753 | |
| FP1813121WR $205.24 | 8 | 20 | Piston w/Pin, Retainer & Rings | To Serial No 598753 | |
| FP1813122WR | 8 | 30 | Piston w/Pin, Retainer & Rings | To Serial No 598753 | |
| FP1802200 $22.13 | 8 | Std. | Rod Bearing Pair | . | |
| FP1802201 $22.13 | 8 | 10 | Rod Bearing Pair | . | |
| FP1802202 $20.61 | 8 | 20 | Rod Bearing Pair | . | |
| FP1802203 $22.13 | 8 | 30 | Rod Bearing Pair | . | |
| FP1802220 $60.29 | 1 | Std. | Main Bearing, Flanged | . | |
| FP1802221 $60.29 | 1 | 10 | Main Bearing, Flanged | . | |
| FP1802222 $60.29 | 1 | 20 | Main Bearing, Flanged | . | |
| FP1802223 $60.29 | 1 | 30 | Main Bearing, Flanged | . | |
| FP1802216 $25.28 | 4 | Std. | Main Bearing, Plain | . | |
| FP1802217 $25.28 | 4 | 10 | Main Bearing, Plain | . | |
| FP1802218 $25.28 | 4 | 20 | Main Bearing, Plain | . | |
| FP1802219 $25.28 | 4 | 30 | Main Bearing, Plain | . | |
| 260-6054 | 1 | . | Oil Pan Gasket Set | . | |
| FP1811050 $302.00 | 1 | . | Head Gasket Set | . | |
| FP1813067 $106.34 | 1 | . | Valley Pan Gasket Set | . | |
| FP1807974 $29.99 | 1 | . | Thermostat Kit | 192 degree Thermostat |
Page 82
International/Navistar Truck
| Kit Number | Component No. | QTY. | PART Size | PART Desc. | Part Appliction |
| FPIFK7.3L | FP1816674WR $197.06 | 8 | Std. | Piston w/Pin, Retainer & Rings | From Serial No 598754 |
| FP1816676WR $185.91 | 8 | 20 | Piston w/Pin, Retainer & Rings | From Serial No 598754 | |
| FP1816677WR $184.13 | 8 | 30 | Piston w/Pin, Retainer & Rings | From Serial No 598754 | |
| FP1802200 $22.13 | 8 | Std. | Rod Bearing Pair | . | |
| FP1802201 $22.13 | 8 | 10 | Rod Bearing Pair | . | |
| FP1802202 $20.61 | 8 | 20 | Rod Bearing Pair | . | |
| FP1802203 $22.13 | 8 | 30 | Rod Bearing Pair | . | |
| FP1802220 $60.29 | 1 | Std. | Main Bearing, Flanged | . | |
| FP1802221 $60.29 | 1 | 10 | Main Bearing, Flanged | . | |
| FP1802222 $60.29 | 1 | 20 | Main Bearing, Flanged | . | |
| FP1802223 $60.29 | 1 | 30 | Main Bearing, Flanged | . | |
| FP1802216 $25.28 | 4 | Std. | Main Bearing, Plain | . | |
| FP1802217 $25.28 | 4 | 10 | Main Bearing, Plain | . | |
| FP1802218 $25.28 | 4 | 20 | Main Bearing, Plain | . | |
| FP1802219 $25.28 | 4 | 30 | Main Bearing, Plain | . | |
| 260-6054 | 1 | . | Oil Pan Gasket Set | . | |
| FP1811050 $302.00 | 1 | . | Head Gasket Set | . | |
| FP1813067 $106.34 | 1 | . | Valley Pan Gasket Set | . | |
| FP1807974 $29.99 | 1 | . | Thermostat Kit | 192 degree Thermostat |
| Kit Number | Component No. | QTY. | PART Size | PART Desc. | Part Appliction |
| FPIFKT444E $2,480.77 | FP1830953 $204.92 | 8 | Std. | Piston w/Pin, Retainer & Rings | . |
| FP1830954 $213.14 | 8 | 20 | Piston w/Pin, Retainer | . | |
| FP1830955 $206.67 | 8 | 30 | Piston w/Pin, Retainer | . | |
| FP1830956 $215.20 | 8 | 40 | Piston w/Pin, Retainer | . | |
| FP1812301 $18.86 | 8 | Std. | Rod Bearing Pair | . | |
| FP1812302 $18.94 | 8 | 10 | Rod Bearing Pair | . | |
| FP1812303 $18.86 | 8 | 20 | Rod Bearing Pair | . | |
| FP1812304 $17.43 | 8 | 30 | Rod Bearing Pair | . | |
| FP1812325 $45.95 | 1 | Std. | Main Bearing, Flanged | . | |
| FP1812326 $63.49 | 1 | 10 | Main Bearing, Flanged | . | |
| FP1812327 $61.87 | 1 | 20 | Main Bearing, Flanged | . | |
| FP1812328 $58.64 | 1 | 30 | Main Bearing, Flanged | . | |
| FP1812321 $25.36 | 4 | Std. | Main Bearing, Plain | . | |
| FP1812322 $25.36 | 4 | 10 | Main Bearing, Plain | . | |
| FP1812323 $25.36 | 4 | 20 | Main Bearing, Plain | . | |
| FP1812324 $25.36 | 4 | 30 | Main Bearing, Plain | . | |
| PGT444S | 1 | . | In-Frame Gasket Set | . |
| Kit Number | Component No. | QTY. | PART Size | PART Desc. | Part Appliction |
| FPIFK7.3EOH | FP1813119WR | 8 | Std. | Piston w/Pin, Retainer & Rings | To Serial No 598753 |
| FP1813120WR | 8 | 10 | Piston w/Pin, Retainer & Rings | To Serial No 598753 | |
| FP1813121WR $205.24 | 8 | 20 | Piston w/Pin, Retainer & Rings | To Serial No 598753 | |
| FP1813122WR | 8 | 30 | Piston w/Pin, Retainer & Rings | To Serial No 598753 | |
| FP1804000 $14.15 | 8 | . | Piston Pin Bushing | . | |
| FP1802200 $22.13 | 8 | Std. | Rod Bearing Pair | . | |
| FP1802201 $22.13 | 8 | 10 | Rod Bearing Pair | . | |
| FP1802202 $20.61 | 8 | 20 | Rod Bearing Pair | . | |
| FP1802203 $22.13 | 8 | 30 | Rod Bearing Pair | . | |
| FP1802220 $60.29 | 1 | Std. | Main Bearing, Flanged | . | |
| FP1802221 $60.29 | 1 | 10 | Main Bearing, Flanged | . | |
| FP1802222 $60.29 | 1 | 20 | Main Bearing, Flanged | . | |
| FP1802223 $60.29 | 1 | 30 | Main Bearing, Flanged | . | |
| FP1802216 $25.28 | 4 | Std. | Main Bearing, Plain | . | |
| FP1802217 $25.28 | 4 | 10 | Main Bearing, Plain | . | |
| FP1802218 $25.28 | 4 | 20 | Main Bearing, Plain | . | |
| FP1802219 $25.28 | 4 | 30 | Main Bearing, Plain | . | |
| PGN7.3C | 1 | . | Overhaul Gasket Set | . | |
| FP1813067 $106.34 | . | Valley Pan Gasket Set | . | ||
| FP1804003 $4.28 | . | Connecting Rod Bolt | . | ||
| FP1805866 $1.29 | . | . | Connecting Rod Nut | . | |
| FP1807974 $29.99 | . | Thermostat Kit | 192 degree Thermostat |
| Kit Number | Component No. | QTY. | PART Size | PART Desc. | Part Appliction |
| FPIFK7.3LOH | FP1816674WR $197.06 | 8 | Std. | Piston w/Pin, Retainer & Rings | From Serial No 598754 |
| FP1816676WR $185.91 | 8 | 20 | Piston w/Pin, Retainer & Rings | From Serial No 598754 | |
| FP1816677WR $184.13 | 8 | 30 | Piston w/Pin, Retainer & Rings | From Serial No 598754 | |
| FP1804000 $14.15 | . | . | Piston Pin Bushing | . | |
| FP1802200 $22.13 | Std. | Rod Bearing Pair | . | ||
| FP1802201 $22.13 | . | 10 | Rod Bearing Pair | . | |
| FP1802202 $20.61 | 20 | Rod Bearing Pair | . | ||
| FP1802203 $22.13 | . | 30 | Rod Bearing Pair | . | |
| FP1802220 $60.29 | Std. | Main Bearing, Flanged | . | ||
| FP1802221 $60.29 | . | 10 | Main Bearing, Flanged | . | |
| FP1802222 $60.29 | 20 | Main Bearing, Flanged | . | ||
| FP1802223 $60.29 | 30 | Main Bearing, Flanged | . | ||
| FP1802216 $25.28 | Std. | Main Bearing, Plain | . | ||
| FP1802217 $25.28 | . | 10 | Main Bearing, Plain | . | |
| FP1802218 $25.28 | 20 | Main Bearing, Plain | . | ||
| FP1802219 $25.28 | . | 30 | Main Bearing, Plain | . | |
| PGN7.3C | . | Overhaul Gasket Set | . | ||
| FP1813067 $106.34 | . | . | Valley Pan Gasket Set | . | |
| FP1804003 $4.28 | . | Connecting Rod Bolt | . | ||
| FP1805866 $1.29 | . | . | Connecting Rod Nut | . | |
| FP1807974 $29.99 | . | Thermostat Kit | 192 degree Thermostat |
Page 86
International/Navistar Truck
| 33 |
M/D Truck 7.3L Diesel Eng. 7.3L 444 OHV Diesel V8 (IDI), 4.11" Bore 1988-93 |
|||||
| CYL. HEAD & PARTS | ||||||
|
|
||||||
| Ref # | Qty | Gaskets | Years | Part No. | Size | Desc. |
| 3 | 1 | Valve Cover Gasket | 93-88 | FP1804052 $17.32 | . | . |
| 5 | 2 | Head Gasket | 93-88 | FP1809057 $93.71 | . | . |
| . | 1 | Head gasket set | 93-88 | FP1811050 $302.00 | . | Int. manifold gskt. not incl. |
| Ref # | Qty | VALVE | Years | Part No. | Size | Desc. |
| 19 | 8 | Intake | 93-88 | FP1804330 $23.71 | . | Chrome plated stem; 1.8770" Head Dia., .3719" Stem Dia., 5.6880" O.A.L. |
| 20 | 8 | Exhaust | 93-88 | FP1811191 $22.05 | . | Chrome plated stem; 1.5950" Head Dia., .3719" Stem Dia., 5.6700" O.A.L. |
| 24 | 32 | Keeper | 93-88 | FP41339 $1.16 | . | 1 groove; Square cut key groove |
| 24 | 32 | Keeper | 93-88 | VK138 $1.02 | . | 1 groove; Square cut key groove; Carton pack 32 |
| 24 | 32 | Keeper | 93-88 | VK138R $0.48 | . | 1 groove; Square cut key groove; Hardened |
| Ref # | Qty | VALVE SEAT | Years | Part No. | Size | Desc. |
| 25 | 8 | Exh. | 93-88 | FP1805249 $12.05 | . | 1.6690" OD, 1.3700" ID, .2710" Depth |
| 25 | 8 | Int. | 93-88 | FP1805250 $11.27 | . | 1.9425" OD, 1.6875" ID, .2480" Depth |
| Ref # | Qty | VALVE GUIDE | Years | Part No. | Size | Desc. |
| 26 | 16 | Guide | 93-88 | FP1805407 $5.12 | . | Exh. & Int.; .3750" ID, 2.6000" O.A.L. |
| Ref # | Qty | VALVE SPRING | Years | Part No. | Size | Desc. |
| 27 | 16 | Spring | 93-88 | FP317365 | . | Incl. damper; 2.0500" Free Height |
| Ref # | Qty | PUSH RODS | Years | Part No. | Size | Desc. |
| . | 16 | Push Rod | 93-88 | FP1804338 $4.28 | . | Install w/copper colored ball toward rocker arm; 9.9890" O.A.L. |
| Ref # | Qty | VALVE MISC. | Years | Part No. | Size | Desc. |
| 32 | 16 | Rotocap | 93-88 | FP1804467 $18.91 | . | . |
| Ref # | Qty | VALVE SEAL | Years | Part No. | Size | Desc. |
| 41 | 8 | Valve Stem Seal | 93-88 | FP681234 $1.02 | . | Int.; Umbrella type |
|
33 (cont.) |
M/D Truck 7.3L Diesel Eng. 7.3L 444 OHV Diesel V8 (IDI), 4.11" Bore 1988-93 |
|||||
| CYL. HEAD & PARTS (cont.) | ||||||
| Ref # | Qty | VALVE SEAL (cont.) | Years | Part No. | Size | Desc. |
| 41 | 8 | Valve Stem Seal | 93-88 | FP1804420 $6.15 | . | Int.; Umbrella type; Fits Std. to .015" O/S valve stem; Rubber. |
| Ref # | Qty | ROCKER PARTS | Years | Part No. | Size | Desc. |
| . | 8 | Arm Assy. | 93-88 | R1119 $64.74 | . | Incl. 2-arms, 2-pivots & 1-retainer |
| 44 | 16 | Arm | 93-88 | R949 $19.41 | . | Incl. 1-rocker arm |
| INT & EXH MANIFOLDS | ||||||
| . | Qty | Int. & Exh. Manifolds | Years | Part No. | Size | Desc. |
| . | 1 | Valley Pan Gasket Set | 93-88 | FP1813067 $106.34 | . | . |
| Camshaft GROUP | ||||||
|
|
||||||
| Ref # | Qty | TIMING | Years | Part No. | Size | Desc. |
| . | 1 | Gear Set | 93-88 | 221-3342S $436.72 | . | Incl. 1 221-3342S $436.72 |
| Ref # | Qty | Camshaft / Lifter | Years | Part No. | Size | Desc. |
| 47 | 1 | Camshaft | 93-88 | CS771 $557.08 | . | . |
| 54 | 16 | Lifter | 93-88 | FP1804353 $23.75 | . | Hyd. rlr. |
| . | 1 | Prelube | 93-88 | 55-400 $7.22 | . | 4 oz. bottle; 1.5 oz. packet No. 55-403 $2.30 also avail. |
| FUEL SYSTEM & PARTS | ||||||
| . | Qty | FUEL FILTERS & PUMP | Years | Part No. | Size | Desc. |
| . | 1 | Mechanical Fuel Pump | 93-88 | FP1804495 $120.65 | . | . |
| 33 (cont.) |
M/D Truck 7.3L Diesel Eng. 7.3L 444 OHV Diesel V8 (IDI), 4.11" Bore 1988-93 |
|||||
| COOLING SYSTEM | ||||||
|
|
||||||
| Ref # | Qty | WATER PUMP | Years | Part No. | Size | Desc. |
| 1 | 1 | Water Pump - Heavy Duty | 93-88 | FP1809374 $322.67 | . | . |
| 12 | 1 | Water Pump Gasket | 93-88 | FP1804136 $19.00 | . | . |
| Ref # | Qty | Thermostat | Years | Part No. | Size | Desc. |
| 20 | 1 | Thermostat | 93-88 | FP1807945 $28.45 | . | 192 Deg. |
| 21 | 1 | Thermostat Kit | 93-88 | FP1807974 $29.99 | . | 192 Deg.; Incl. gskt. |
| 22 | 1 | Thermostat Gasket | 93-88 | FP1804032 $5.04 | . | . |
|
33 (cont.) |
M/D Truck 7.3L Diesel Eng. 7.3L 444 OHV Diesel V8 (IDI), 4.11" Bore 1988-93 |
|||||
| ENGINE BLOCK & PARTS | ||||||
|
|
||||||
| Ref # | Qty | Gaskets | Years | Part No. | Size | Desc. |
| 3 | 1 | Front Crankcase Cover Gasket | 93-88 | FP1804480 $37.92 | . | . |
| 6. | 1 | Oil Pan Gasket Set | 93-88 | 260-6054 | . | . |
| Ref # | Qty | GASKET SETS | Years | Part No. | Size | Desc. |
| . | 1 | Lower Gasket Set | 93-88 | FP1802213 $92.05 | . | . |
| . | 1 | Kit Gasket Set | 93-88 | 260-1673 $189.04 | . | Int. manifold gskt. not incl.; Premium valve stem seals incl. |
| Ref # | Qty | Cam Bearings | Years | Part No. | Size | Desc. |
| 19 | 1 | Cam Set | 93-88 | FP1804475 $60.32 | STD | . |
| Ref # | Qty | FREEZE PLUGS | Years | Part No. | Size | Desc. |
| . | 1 | Stainless Block Plug Kit | 93-88 | 381-8056 $34.34 | . | Incl. 7. centerless ground OD, stainless steel block plugs |
|
33 (cont.) |
M/D Truck 7.3L Diesel Eng. 7.3L 444 OHV Diesel V8 (IDI), 4.11" Bore 1988-93 |
|||||
| Crankshaft/OIL PUMP | ||||||
|
|
||||||
| Ref # | Qty |
SEALS - FRONT CRANK |
Years | Part No. | Size | Desc. |
| 47 | 1 | Oil Seal | 93-88 | FP1804009 $36.35 | . | Viton® |
| . | 1 | Oil Seal Kit | 93-88 | 5066 44.99 | . | (Seal & Sleeve) |
| Ref # | Qty |
SEALS - REAR CRANK |
Years | Part No. | Size | Desc. |
| 7. | 1 | Oil Seal | 93-88 | FP1816559 $39.69 | . | . |
| 7. | 1 | Oil Seal | 93-88 | 39608 53.23 | . | PTFE |
| 7. | 1 | Oil Seal | 93-88 | 3893V 85.70 | . | Viton® |
| 8 | 1 | Oil Seal Kit | 93-88 | FP1819733 $63.38 | . | . |
| 9 | 1 | Wear Sleeve | 93-88 | FP1816569 $36.35 | . | . |
| Ref # | Qty | Main bearings | Years | Part No. | Size | Desc. |
| . | 1 | Main Set | 93-88 | 5110M $279.15 |
Std-10 20-30 |
. |
| 38 | 4 | Plain Main Brg. | 93-88 | FP1802216 $25.28 | STD | Position 1-2-4-5 |
| 38 | 4 | Plain Main Brg. | 93-88 | FP1802217 $25.28 | 10 | Position 1-2-4-5 |
| 38 | 4 | Plain Main Brg. | 93-88 | FP1802218 $25.28 | 20 | Position 1-2-4-5 |
| 38 | 4 | Plain Main Brg. | 93-88 | FP1802219 $25.28 | 30 | Position 1-2-4-5 |
| 39 | 1 | Flanged Main Brg. | 93-88 | FP1802220 $60.29 | STD | Position 3 |
| 39 | 1 | Flanged Main Brg. | 93-88 | FP1802221 $60.29 | 10 | Position 3 |
| 39 | 1 | Flanged Main Brg. | 93-88 | FP1802222 $60.29 | 20 | Position 3 |
| 39 | 1 | Flanged Main Brg. | 93-88 | FP1802223 $60.29 | 30 | Position 3 |
| Ref # | Qty | OIL PUMP | Years | Part No. | Size | Desc. |
| 11 | 1 | Oil Pump | 93-88 | FP1805398 $279.68 | . | . |
|
33 (cont.) |
M/D Truck 7.3L Diesel Eng. 7.3L 444 OHV Diesel V8 (IDI), 4.11" Bore 1988-93 |
|||||
| CYLINDER COMPONENTS | ||||||
|
|
||||||
| Ref # | Qty | Pistons | Years | Part No. | Size | Desc. |
| 13 | 8 | Piston Body w/o Pin | 93-88 | FP1816562 $149.33 | STD | From Ser. No. 598754 |
| 13 | 8 | Piston Body w/o Pin | 93-88 | FP1816658 $144.18 | 20 | From Ser. No. 598754 |
| 13 | 8 | Piston Body w/o Pin | 93-88 | FP1441703 $142.80 | 30 | From Ser. No. 598754 |
| 13 | 8 | Piston Body w/o Pin | 93-88 | FP1809109 $146.01 | 20 | To Ser. No. 598753 |
| 13 | 8 | Piston Body w/o Pin | 93-88 | FP1809110 $147.43 | 30 | To Ser. No. 598753 |
| 14 | 8 | Piston Kit w/Pin & Retainers | 93-88 | FP1816674 $155.72 | STD | From Ser. No. 598754 |
| 14 | 8 | Piston Kit w/Pin & Retainers | 93-88 | FP1816676 $150.94 | 20 | From Ser. No. 598754 |
| 14 | 8 | Piston Kit w/Pin & Retainers | 93-88 | FP1816677 $149.50 | 30 | From Ser. No. 598754 |
| 14 | 8 | Piston Kit w/Pin & Retainers | 93-88 | FP1813121 $152.84 | 20 | To Ser. No. 598753 |
| 14 | 8 | Piston Kit w/Pin & Retainers | 93-88 | FP1813122 $147.81 | 30 | To Ser. No. 598753 |
| 15 | 8 | Piston w/Pin, Retainer, Rings | 93-88 | FP1816674WR $197.06 | STD | From Ser. No. 598754 |
| 15 | 8 | Piston w/Pin, Retainer, Rings | 93-88 | FP1816676WR $185.91 | 20 | From Ser. No. 598754 |
| 15 | 8 | Piston w/Pin, Retainer, Rings | 93-88 | FP1816677WR $184.13 | 30 | From Ser. No. 598754 |
| 15 | 8 | Piston w/Pin, Retainer, Rings | 93-88 | FP1813121WR $205.24 | 20 | To Ser. No. 598753 |
| 15 | 8 | Piston w/Pin, Retainer, Rings | 93-88 | FP1813122WR | 30 | To Ser. No. 598753 |
| 19 | 8 | Pin | 93-88 | FP1804321 $18.97 | . | . |
| 11 | 16 | Piston Pin Retainer | 93-88 | FP1804308 $2.73 | . | . |
| 29 | 8 | Pin Bushing | 93-88 | FP1804000 $14.15 | . | . |
| Ref # | Qty |
Connecting RODS & BRGS. |
Years | Part No. | Size | Desc. |
| 23 | 16 | Con. Rod Bolt | 93-88 | FP1804003 $4.28 | . | . |
| 24 | 16 | Con. Rod Nut | 93-88 | FP1805866 $1.29 | . | . |
| 27 | 8 | Rod Pair | 93-88 | FP1802200 $22.13 | STD | . |
| 27 | 8 | Rod Pair | 93-88 | FP1802201 $22.13 | 10 | . |
| 27 | 8 | Rod Pair | 93-88 | FP1802202 $20.61 | 20 | . |
| 27 | 8 | Rod Pair | 93-88 | FP1802203 $22.13 | 30 | . |
| Ref # | Qty | PISTON RINGS | Years | Part No. | Size | Desc. |
| 33 | 8 | Ring Set Single Cylinder | 93-88 | FP1813173 $42.69 | 20 | From Ser. No. 598754 |
| 33 | 8 | Ring Set Single Cylinder | 93-88 | FP1813174 $33.20 | 30 | From Ser. No. 598754 |
| 33 | 8 | Ring Set Single Cylinder | 88-93 | FP1813171 $41.12 | STD | From Ser. No. 598754; 1-.118, 1-.136; 2nd ring gap is .030-.075" like O.E. ring |
| 33 | 8 | Ring Set Single Cylinder | 88-93 | FP1809146 $56.19 | STD | To Ser. No. 798753 |
| 33 | 8 | Ring Set Single Cylinder | 88-93 | FP1809147 $71.39 | 10 | To Ser. No. 798753 |
| 33 | 8 | Ring Set Single Cylinder | 88-93 | FP1809148 $71.39 | 20 | To Ser. No. 798753 |
| 33 | 8 | Ring Set Single Cylinder | 88-93 | FP1809149 | 30 | To Ser. No. 798753 |
| KITS | ||||||
| . | Qty | Overhaul Kit | Years | Part No. | Size | Desc. |
| . | 1 | In-Frame Overhaul Kit | 88-93 | FPIFK73L $1,925.23 | . | From Ser. No. 598754 |
| . | 1 | In-Frame Overhaul Kit | 88-93 | FPIFK73E $1,903.52 | . | To Ser. No. 798753 |
| . | 1 | Complete Overhaul Kit | 88-93 | FPIFK73LOH $2,031.97 | . | From Ser. No. 598754 |
| . | 1 | Complete Overhaul Kit | 88-93 | FPIFK73EOH $2,028.89 | . | To Ser. No. 598753 |
| 34 |
M/D Truck 7.3L Turbo-Diesel Eng. 7.3L 444 OHV Turbo-Diesel V8 (IDI), 4.11" Bore 1993-94 |
|||||
| CYL. HEAD & PARTS | ||||||
|
|
| Ref # | Qty | Gaskets | Years | Part No. | Size | Desc. |
| 3 | 2 | Valve Cover Gasket | 93-94 | FP1804052 $17.32 | . | . |
| 5 | 2 | Head Gaskt | 93-94 | FP1809057 $93.71 | . | . |
| . | 1 | Head Gasket Set | 93-94 | FP1811050 $302.00 | . | Int. manifold gskt. not incl. |
| Ref # | Qty | VALVE | Years | Part No. | Size | Desc. |
| 10 | 8 | Intake | 93-94 | FP1804330 $23.71 | . | Chrome plated stem; 1.6770" Head ia., .3719" Stem Dia., 5.6880" O.A.L. |
| 24 | 32 | Keeper | 93-94 | FP41339 $1.16 | . | 1 groove; Square cut key groove |
| Ref # | Qty | VALVE SEAT | Years | Part No. | Size | Desc. |
| 25 | 8 | Exhaut | 93-94 | FP1805249 $12.05 | . | 1.6690" OD, 1.3700" ID, 02710" Depth |
|
34 (cont.) |
M/D Truck 7.3L Turbo-Diesel Eng. 7.3L 444 OHV Turbo-Diesel V8 (IDI), 4.11" Bore 1993-94 |
|||||
| CYL. HEAD & PARTS (cont.) | ||||||
| Ref # | Qty | VALVE SEAT (cont.) | Years | Part No. | Size | Desc. |
| 25 | 8 | Int. | 94-93 | FP1805250 $11.27 | . | 1.9425" OD, 1.6875" ID, .2480" Depth |
| Ref # | Qty | VALVE GUIDE | Years | Part No. | Size | Desc. |
| 26 | 16 | Guide | 94-93 | FP1805407 $5.12 | . | Int. & Exh.; .3750" ID, 2.6000" O.A.L. |
| Ref # | Qty | VALVE SPRING | Years | Part No. | Size | Desc. |
| 27 | 16 | Spring | 94-93 | FP317365 | . | Int. & Exh.; Incl. damper; 2.0500" Free Height |
| Ref # | Qty | PUSH RODS | Years | Part No. | Size | Desc. |
| . | 16 | Push Rod | 94-93 | FP1804338 $4.28 | . | Install w/copper colored ball toward rocker arm; 9.9890" O.A.L. |
| Ref # | Qty | VALVE SEAL | Years | Part No. | Size | Desc. |
| 41 | 16 | Valve Stem Seal | 94-93 | MV1796C $1.51 | . | Umbrella type; Fits Std. to .015" O/S valve stem; Rubber |
| 41 | 16 | Valve Stem Seal | 94-93 | FP1804420 $6.15 | . | Umbrella type; Fits Std. to .015" O/S valve stem; Rubber. |
| INT & EXH MANIFOLDS | ||||||
| . | Qty | Int. & Exh. Manifolds | Years | Part No. | Size | Desc. |
| . | 1 | Valley Pan Gasket Set | 94-93 | FP1813067 $106.34 | . | . |
| FUEL SYSTEM & PARTS | ||||||
| . | Qty | FUEL FILTERS & PUMP | Years | Part No. | Size | Desc. |
| . | 1 | Mechanical Fuel Pump | 94-93 | FP1804495 $120.65 | . | . |
| COOLING SYSTEM | ||||||
|
|
||||||
| Ref # | Qty | WATER PUMP | Years | Part No. | Size Desc. | |
| 12 | 1 | Water Pump Gasket | 94-93 | FP1804136 $19.00 | . | |
| Ref # | Qty | Thermostat | Years | Part No. | Size Desc. | |
| 20 | 1 | Thermostat | 94-93 | FP1807945 $28.45 | 192 Deg. | |
| 21 | 1 | Thermostat Kit | 94-93 | FP1807974 $29.99 | 192 Deg.; Incl. gskt. | |
| 22 | 1 | Thermostat Gasket | 94-93 | FP1804032 $5.04 | . | |
|
34 (cont.) |
M/D Truck 7.3L Turbo-Diesel Eng. 7.3L 444 OHV Turbo-Diesel V8 (IDI), 4.11" Bore 1993-94 |
|||||
| ENGINE BLOCK & PARTS | ||||||
|
|
||||||
| Ref # | Qty | Gaskets | Years | Part No. | Size | Desc. |
| 3 | 1 | Front Crankcase Cover Gasket | 94-93 | FP1804480 $37.92 | . | . |
| 6. | 1 | Oil Pan Gasket Set | 94-93 | 260-6054 | . | . |
| . | 1 | Chemicals | 94-93 | FP446839 $12.37 | . | Front Cover; RTV Sealant |
| Ref # | Qty | GASKET SETS | Years | Part No. | Size | Desc. |
| . | 1 | Lower Gasket Set | 94-93 | FP1802213 $92.05 | . | . |
| . | 1 | Complete Overhaul Gasket Set | 94-93 | FPPGN73C $385.43 | . | . |
| . | 1 | Kit Gasket Set | 94-93 | 260-1673 $189.04 | . | Turbo mtg. gskts. not incl.; Int. manifold gskt. not incl.; Premium valve stem seals incl. |
| Ref # | Qty | Cam Bearings | Years | Part No. | Size | Desc. |
| 19 | 1 | Cam Set | 94-93 | FP1804475 $60.32 | STD | . |
| Ref # | Qty | FREEZE PLUGS | Years | Part No. | Size | Desc. |
| . | 1 | Stainless Block Plug Kit | 94-93 | 381-8056 $34.34 | . | Incl. 7. centerless ground OD, stainless steel block plugs |
|
34 (cont.) |
M/D Truck 7.3L Turbo-Diesel Eng. 7.3L 444 OHV Turbo-Diesel V8 (IDI), 4.11" Bore 1993-94 |
|||||
| Crankshaft/OIL PUMP | ||||||
|
|
||||||
| Ref # | Qty |
SEALS - FRONT CRANK |
Years | Part No. | Size | Desc. |
| 47 | 1 | Oil Seal | 94-93 | FP1804009 $36.35 | . | Viton® |
| Ref # | Qty |
SEALS - REAR CRANK |
Years | Part No. | Size | Desc. |
| 7. | 1 | Oil Seal | 94-93 | FP1816559 $39.69 | . | . |
| 8 | 1 | Oil Seal Kit | 94-93 | FP1819733 $63.38 | . | . |
| 9 | 1 | Wear Sleeve | 94-93 | FP1816569 $36.35 | . | . |
| Ref # | Qty | Main bearings | Years | Part No. | Size | Desc. |
| 38 | 4 | Plain Main Brg. | 94-93 | FP1802216 $25.28 | STD | Position 1-2-4-5 |
| 38 | 4 | Plain Main Brg. | 94-93 | FP1802217 $25.28 | 10 | Position 1-2-4-5 |
| 38 | 4 | Plain Main Brg. | 94-93 | FP1802218 $25.28 | 20 | Position 1-2-4-5 |
| 38 | 4 | Plain Main Brg. | 94-93 | FP1802219 $25.28 | 30 | Position 1-2-4-5 |
| 39 | 1 | Flanged Main Brg. | 94-93 | FP1802220 $60.29 | STD | Position 3 |
| 39 | 1 | Flanged Main Brg. | 94-93 | FP1802221 $60.29 | 10 | Position 3 |
| 39 | 1 | Flanged Main Brg. | 94-93 | FP1802222 $60.29 | 20 | Position 3 |
| 39 | 1 | Flanged Main Brg. | 94-93 | FP1802223 $60.29 | 30 | Position 3 |
| Ref # | Qty | OIL PUMP | Years | Part No. | Size | Desc. |
| 11 | 1 | Oil Pump | 94-93 | FP1805398 $279.68 | . | . |
Page 96
International/Navistar Truck
| 34 (cont.) |
M/D Truck 7.3L Turbo-Diesel Eng. 7.3L 444 OHV Turbo-Diesel V8 (IDI), 4.11" Bore 1993-94 |
|||||
| CYLINDER COMPONENTS | ||||||
|
|
||||||
| Ref # | Qty | Pistons | Years | Part No. | Size | Desc. |
| 29 | 8 | Pin Bushing | 94-93 | FP1804000 $14.15 | . | . |
| Ref # | Qty |
Connecting RODS & BRGS. |
Years | Part No. | Size | Desc. |
| 23 | 16 | Con. Rod Bolt | 94-93 | FP1804003 $4.28 | . | . |
| 24 | 16 | Con. Rod Nut | 94-93 | FP1805866 $1.29 | . | . |
| 27 | 8 | Rod Pair | 94-93 | FP1802200 $22.13 | STD | . |
| 27 | 8 | Rod Pair | 94-93 | FP1802201 $22.13 | 10 | . |
| 27 | 8 | Rod Pair | 94-93 | FP1802202 $20.61 | 20 | . |
| 27 | 8 | Rod Pair | 94-93 | FP1802203 $22.13 | 30 | . |
| 35 |
M/D Truck 7.3L Turbo-Diesel Eng. 7.3L 444 OHV Turbo-Diesel V8 (DI), 4.11" Bore 1994-2003 |
|||||
| CYL. HEAD & PARTS | ||||||
|
|
||||||
| Ref # | Qty | Gaskets | Years | Part No. | Size | Desc. |
| 5 | 2 | Head Gasket | 03-94 | FP1826672 $101.60 | . | . |
| . | 1 | Head gasket set | 03-94 | FP1830826 $316.35 | . | Contains head Gaskets & valve stem seals only |
| 69 | 1 | Breather Seal Ring | 03-94 | FP1824452 $1.07 | . | Inner crankcase vent |
| 69 | 1 | Breather Seal Ring | 03-94 | FP1820784 $0.35 | . | Outer crankcase vent |
| Ref # | Qty | HEAD BOLTS | Years | Part No. | Size | Desc. |
| 11 | 36 | Head Bolt | 03-94 | FP1818092 $8.08 | . | . |
| Ref # | Qty | VALVE | Years | Part No. | Size | Desc. |
| 19 | 8 | Intake | 03-94 | FP1823453 $34.79 | . | . |
| 20 | 8 | Exhaust | 03-94 | FP1823452 $39.51 | . | . |
| 24 | 32 | Keeper | 03-94 | FP1810944 $1.22 | . | 5/16" valve stem |
| Ref # | Qty | VALVE GUIDE | Years | Part No. | Size | Desc. |
| 26 | 16 | Guide | 03-94 | FP1822862 $23.75 | . | .3146" ID, 2.4450" O.A.L. |
| Ref # | Qty | VALVE SEAL | Years | Part No. | Size | Desc. |
| 41 | 16 | Valve Stem Seal | 03-94 | FP1816179 $10.97 | . | Exh. & Int. |
| IGNITION | ||||||
| . | Qty | IGNITION | Years | Part No. | Size | Desc. |
| . | 8 | Glow Plug | 03-94 | FP1820697 $33.18 | . | . |
|
35 (cont.) |
M/D Truck 7.3L Turbo-Diesel Eng. 7.3L 444 OHV Turbo-Diesel V8 (DI), 4.11" Bore 1994-2003 |
|||||
| INT & EXH MANIFOLDS | ||||||
|
|
||||||
| Ref # | Qty | Int. & Exh. Manifolds | Years | Part No. | Size | Desc. |
| 3 | 2 | Exhaust Manifold Gasket | 03-94 | FP1814219 $18.89 | . | . |
| FUEL SYSTEM & PARTS | ||||||
| . | Qty | FUEL Injection | Years | Part No. | Size | Desc. |
| . | 8 | Fuel Injector Seal | 03-94 | FP1814695 $1.62 | . | Lower |
| . | Qty | FUEL FILTERS & PUMP | Years | Part No. | Size | Desc. |
| . | 1 | Mechanical Fuel Pump | 03-94 | FP1824415 $298.82 | . | . |
| . | 1 | O-Ring | 03-94 | FP1822708 $1.70 | . | Fuel pump seal |
| . | Qty | Turbo- Charger | Years | Part No. | Size | Desc. |
| . | 2 | Turbo Ring | 03-94 | FP702299 | . | Turbo sealing ring |
| . | 1 | Turbo- Charger Mounting Gasket | 03-94 | FP1822120 $10.34 | . | . |
| . | 1 | Rect. or Square Seal | 03-94 | FP1818372 $8.86 | . | Compressor outlet |
| . | 2 | O-Ring | 03-94 | FP1815561 $1.81 | . | Oil drain |
| . | 2 | O-Ring | 03-94 | FP1815560 $1.35 | . | Oil supply |
| . | 1 | Turbo Oil Injection Pump Gskt | 03-94 | FP1825163 $17.25 | . | From Ser. No. 213855 through Ser. No. 214133 and from Ser. No. 216544 |
|
35 (cont.) |
M/D Truck 7.3L Turbo-Diesel Eng. 7.3L 444 OHV Turbo-Diesel V8 (DI), 4.11" Bore 1994-2003 |
|||||
| COOLING SYSTEM | ||||||
|
|
||||||
| Ref # | Qty | WATER PUMP | Years | Part No. | Size | Desc. |
| 13 | 1 | Rect. or Square Seal | 03-94 | FP1818397 $1.70 | . | Water pump inlet |
| . | 1 | Water Pump Seal Ring | 03-94 | FP1831713 $8.30 | . | . |
| Ref # | Qty | Thermostat | Years | Part No. | Size | Desc. |
| . | 1 | Water Outlet Gasket | 03-94 | FP1821880 $3.05 | . | . |
|
35 (cont.) |
M/D Truck 7.3L Turbo-Diesel Eng. 7.3L 444 OHV Turbo-Diesel V8 (DI), 4.11" Bore 1994-2003 |
|||||
| ENGINE BLOCK & PARTS | ||||||
|
|
||||||
| Ref # | Qty | Gaskets | Years | Part No. | Size | Desc. |
| . | 1 | Chemicals | 03-94 | FP1816593 $34.85 | . | Oil pan; RTV Sealant |
| 10 | 1 | O-Ring | 03-94 | FP875519 $0.86 | . | Dipstick |
| 11 | 1 | Drain Plug Gasket | 03-94 | FP1822712 $5.87 | . | . |
| Ref # | Qty | GASKET SETS | Years | Part No. | Size | Desc. |
| . | 1 | In-Frame Gasket Set | 03-94 | FPPGT444S $408.35 | . | Valve cover gskts. not incl.; Head bolts not incl.; Premium valve stem seals incl. |
| Ref # | Qty | Cam Bearings | Years | Part No. | Size | Desc. |
| 19 | 1 | Cam Set | 03-94 | FP1812317 $52.28 | STD | . |
| Ref # | Qty | FREEZE PLUGS | Years | Part No. | Size | Desc. |
| . | 1 | Stainless Block Plug Kit | 03-94 | 381-8088 $26.64 | . | Incl. 7. centerless ground OD, stainless steel block plugs |
Page 101
International/Navistar Truck
|
35 (cont.) |
M/D Truck 7.3L Turbo-Diesel Eng. 7.3L 444 OHV Turbo-Diesel V8 (DI), 4.11" Bore 1994-2003 |
|||||
|
|
| Ref # | Qty |
SEALS - Front Crankshaft |
Years | Part No. | Size | Desc. |
| 47 | 1 | Oil seal kit | 94-03 | FP1812376 $34.88 | . | . |
| . | 1 | Wear sleeve | 94-03 | FP1814607 $14.25 | . | . |
| Ref # | Qty |
SEALS - Rear Crankshaft |
Years | Part No. | Size | Desc. |
| 8 | 1 | Oil seal kit | 94-03 | FP1812329 $79.29 | . | . |
| Ref # | Qty | Main bearings | Years | Part No. | Size | Desc. |
| 38 | 4 | Plain main bearing | 94-03 | FP1812321 $25.36 | STD | Position 1-2-3-4 |
| 38 | 4 | Plain main bearing | 94-03 | FP1812322 $25.36 | 10 | Position 1-2-3-4 |
| 38 | 4 | Plain main bearing | 94-03 | FP1812323 $25.36 | 20 | Position 1-2-3-4 |
| 38 | 4 | Plain main bearing | 94-03 | FP1812324 $25.36 | 30 | Position 1-2-3-4 |
| 39 | 1 | Flanged main bearing | 94-03 | FP1812325 $45.95 | STD | Position 5 |
| 39 | 1 | Flanged main bearing | 94-03 | FP1812326 $63.49 | 10 | Position 5 |
| 39 | 1 | Flanged main bearing | 94-03 | FP1812327 $61.87 | 20 | Position 5 |
| 39 | 1 | Flanged main bearing | 94-03 | FP1812328 $58.64 | 30 | Position 5 |
| Ref # | Qty | OIL PUMP | Years | Part No. | Size | Desc. |
| 11 | 1 | Oil pump | 94-03 | FP1830813 $171.64 | . | . |
| 22 | 1 | Oil pump inlet tube gasket | 94-03 | FP1823671 $5.33 | . | Oil suction tube to oil pump; From Ser. No. 375550 |
| 22 | 1 | Oil pump inlet tube gasket | 94-03 | FP1815899 $6.42 | . | Oil suction tube to oil pump; To Ser. No. 375549 |
| . | 1 | Lo filter adapter gasket | 94-03 | FP1831665 $14.20 | . | . |
| 26 | 1 | Oil pump gasket | 94-03 | FP1815898 $20.46 | . | High pressure pump flange gasket |
| 26 | 1 | Oil pump gasket | 94-03 | FP1831516 $3.31 | . | Pump mounting |
Page 102
International/Navistar Truck
|
35 (cont.) |
M/D Truck 7.3L Turbo-Diesel Eng. 7.3L 444 OHV Turbo-Diesel V8 (DI), 4.11" Bore 1994-2003 |
|||||
| CYLINDER COMPONENTS | ||||||
|
|
||||||
| Ref # | Qty | Pistons | Years | Part No. | Size | Desc. |
| 13 | 8 | Piston Body w/o Pin | 03-94 | FP1824284 $170.02 | STD | . |
| 13 | 8 | Piston Body w/o Pin | 03-94 | FP1830898 $196.39 | 10 | . |
| 13 | 8 | Piston Body w/o Pin | 03-94 | FP1830899 $171.66 | 20 | . |
| 13 | 8 | Piston Body w/o Pin | 03-94 | FP1830900 $197.00 | 30 | . |
| 14 | 8 | Piston Kit w/Pin & Retainers | 03-94 | FP1830898WP $201.90 | 10 | . |
| 14 | 8 | Piston Kit w/Pin & Retainers | 03-94 | FP1824284WP $177.95 | STD | Also available as Sealed Power No. 2767PN $171.43 |
| 14 | 8 | Piston Kit w/Pin & Retainers | 03-94 | FP1830899WP $195.44 | 20 | Also available as Sealed Power No. 2767PN $171.43 20 |
| 14 | 8 | Piston Kit w/Pin & Retainers | 03-94 | FP1830900WP $220.95 | 30 | Also available as Sealed Power No. 2767PN $171.43 30 |
| 15 | 8 | Piston w/Pin, Retainer, Rings | 03-94 | FP1830953 $204.92 | STD | . |
| 15 | 8 | Piston w/Pin, Retainer, Rings | 03-94 | FP1830954 $213.14 | 10 | . |
| 15 | 8 | Piston w/Pin, Retainer, Rings | 03-94 | FP1830955 $206.67 | 20 | . |
| 15 | 8 | Piston w/Pin, Retainer, Rings | 03-94 | FP1830956 $215.20 | 30 | . |
| 19 | 8 | Pin | 03-94 | FP1809339 $23.79 | . | . |
| 11 | 16 | Piston Pin Retainer | 03-94 | FP1814326 $2.04 | . | . |
| 29 | 8 | Pin Bushing | 03-94 | FP1812457 $14.15 | . | . |
| Ref # | Qty |
Connecting RODS & BRGS. |
Years | Part No. | Size | Desc. |
| 27 | 8 | Rod Pair | 03-94 | FP1812301 $18.86 | STD | . |
| 27 | 8 | Rod Pair | 03-94 | FP1812302 $18.94 | 10 | . |
| 27 | 8 | Rod Pair | 03-94 | FP1812303 $18.86 | 20 | . |
| 27 | 8 | Rod Pair | 03-94 | FP1812304 $17.43 | 30 | . |
| Ref # | Qty | PISTON RINGS | Years | Part No. | Size | Desc. |
| 33 | 8 | Ring Set Single Cylinder | 03-94 | FP1830950 $61.79 | 10 | 1-1/8, 1-5/64, 1-.136 |
| 33 | 8 | Ring Set Single Cylinder | 03-94 | FP1830951 $61.79 | 20 | 1-1/8, 1-5/64, 1-.136 |
| 33 | 8 | Ring Set Single Cylinder | 03-94 | FP1830952 $61.79 | 30 | 1-1/8, 1-5/64, 1-.136 |
| 33 | 8 | Ring Set Single Cylinder | 03-94 | FP1830949 $72.97 | STD | 1-1/8, 1-5/64, 1-.136; 2nd ring gap is .060-.075" like O.E. ring |
| KITS | ||||||
| . | Qty | Overhaul Kit | Years | Part No. | Size Desc. | |
| . | 1 | In-Frame Overhaul Kit | 03-94 | FPIFKT444E $2,480.77 | . | |
| 36 |
H/D Truck MV446 Eng. 7.3L 446 OHV V8 (16 Valve), 4.125" Bore 1975-81 |
||||
| CYL. HEAD & PARTS | |||||
| Qty | VALVE | Years | Part No. | Size | Desc. |
| 8 | Intake | 81-75 | V2523 $29.64 | Std Only | Chrome plated stem; 2.0540" Head Dia., .3725" Stem Dia., 5.4670" O.A.L. |
| 8 | Exhaust | 81-75 | V2090X $36.38 | Std Only | Chrome plated stem; 1.5350" Head Dia., .3720" Stem Dia., 5.4820" O.A.L. |
| 32 | Keeper | 81-75 | FP41339 $1.16 | . | 1 groove; Square cut key groove |
| 32 | Keeper | 81-75 | VK138 $1.02 | . | 1 groove; Square cut key groove; Carton pack 32 |
| 32 | Keeper | 81-75 | VK138R $0.48 | . | 1 groove; Square cut key groove; Hardened |
| Qty | VALVE SEAT | Years | Part No. | Size | Desc. |
| 8 | Int. | 81-75 | 245-2125-1 $7.88 | Std Only | 2.1305" OD, 1.8125" ID, .2480" Depth |
| Qty | VALVE GUIDE | Years | Part No. | Size | Desc. |
| 16 | Guide | 81-75 | VG660 $4.76 | . | .3745" ID, 2.6000" O.A.L. |
| Qty | VALVE SPRING | Years | Part No. | Size | Desc. |
| 16 | Spring | 81-75 | FP317365 | . | Incl. damper; 2.0500" Free Height |
| Qty | PUSH RODS | Years | Part No. | Size | Desc. |
| 16 | Push Rod | 81-75 | RP3201 $5.14 | . | 10.3460" O.A.L. |
| Qty | VALVE MISC. | Years | Part No. | Size | Desc. |
| 8 | Rotocap Assy. | 81-75 | FPRC126SA | . | Exh.; Incl. Rotocap & Valve Spring |
| 8 | Rotocap | 81-75 | FP443128 $15.82 | . | Exh. |
| Qty | VALVE SEAL | Years | Part No. | Size | Desc. |
| 16 | Valve Stem Seal | 81-75 | FP156541 $2.69 | . | Installation requires valve guide machining; Polyacrylate |
| Camshaft GROUP | |||||
| Qty | TIMING | Years | Part No. | Size | Desc. |
| 1 | Gear Set | 81-75 | 221-3335S $133.73 | . | Incl. 1 221-3329A, 1 221-3334. |
| Qty | Camshaft / Lifter | Years | Part No. | Size | Desc. |
| 16 | Lifter | 81-75 | FP446571 $7.58 | . | Hyd.; w/2 grooves |
| 1 | Prelube | 81-75 | 55-400 $7.22 | . | 4 oz. bottle; 1.5 oz. packet No. 55-403 $2.30 also avail. |
| ENGINE BLOCK & PARTS | |||||
| Qty | Gaskets | Years | Part No. | Size | Desc. |
| 1 | Oil Pan Gasket Set | 81-75 | 260-6054 | . | . |
| Qty | GASKET SETS | Years | Part No. | Size | Desc. |
| 1 | Kit Gasket Set | 81-75 | 260-1117 $165.65 | . | Int. manifold gskt. not incl.; Premium valve stem seals incl. |
| Qty | Cam Bearings | Years | Part No. | Size | Desc. |
| 1 | Cam Set | 81-75 | FP1804475 $60.32 | STD | . |
| Crankshaft/OIL PUMP | |||||
| Qty |
SEALS - FRONT CRANK |
Years | Part No. | Size | Desc. |
| 1 | Oil Seal | 81-75 | FP1804009 $36.35 | . | Viton® |
| 1 | Oil Seal Kit | 81-75 | FP1808751 $38.02 | . | . |
| 1 | Oil Seal Kit | 81-75 | 5064 34.81 | . | (Seal & Sleeve) |
| Qty |
SEALS - REAR CRANK |
Years | Part No. | Size | Desc. |
| 1 | Oil Seal | 81-75 | 2218 54.71 | . | . |
| 1 | Wear Sleeve | 81-75 | FP1816569 $36.35 | . | . |
| Qty | Main bearings | Years | Part No. | Size | Desc. |
| 1 | Main Set | 81-75 | 5082M $148.36 | Std-10- 20 | . |
| Qty | OIL PUMP | Years | Part No. | Size | Desc. |
| 1 | Oil Pump | 81-75 | 224-41189 $167.67 | . | Repl. O.E. No. 446455C91 |
| CYLINDER COMPONENTS | |||||
| Qty | Liners | Years | Part No. | Size | Desc. |
| 8 | Repair Sleeve | 81-75 | SL23Y $105.01 | Std Only | 1/8" wall, must be cut to correct length |
| 8 | Repair Sleeve | 81-75 | SL23M $102.42 | Std Only | 3/32" wall, must be cut to correct length |
|
36 (cont.) |
H/D Truck MV446 Eng. 7.3L 446 OHV V8 (16 Valve), 4.125" Bore 1975-81 |
||||
| CYLINDER COMPONENTS (cont.) | |||||
| Qty | Pistons | Years | Part No. | Size | Desc. |
| 8 | Cast Piston - Individual | 81-75 | WH999P |
Std-20- 30 40-60 |
MV446 Engs.; Hypereutectic; 2-3/32", 1-3/16" Ring Groove, 1.900" CD, 1.0200" Pin Dia., Recessed Head .327" deep x 3.320" dia. |
| Qty |
Connecting RODS & BRGS. |
Years | Part No. | Size | Desc. |
| 8 | Rod Pair | 81-75 | FP3730CP $22.10 | . | . |
| 8 | Rod Pair | 81-75 | FP3730CP10 $22.07 | . | . |
| 8 | Rod Pair | 81-75 | FP3730CP20 $18.70 | . | . |
| 8 | Rod Pair | 81-75 | FP3730CP30 $22.05 | . | . |
| 8 | Rod Pair | 81-75 | FP3730CP40 | . | . |
| Qty | PISTON RINGS | Years | Part No. | Size | Desc. |
| 1 | Premium Set | 81-75 | E404K $374.42 | Std-60 | H/D use; Highway use; 2-3/32, 1-3/16 |
| 1 | Premium Set | 81-75 | E273K $201.34 |
Std-20 30 40-60 |
L/D, Pick-up & Delivery Service; 2-3/32, 1-3/16 |
| 1 | Standard Set | 81-75 | E422X30 | 30 | L/D, Pick-up & Delivery Service; 2-3/32, 1-3/16 |
| 8 | Premium Single Cylinder Set | 81-75 | WE404K | Std-30 | H/D use; Highway use; 2-3/32, 1-3/16 |
| 8 | Premium Single Cylinder Set | 81-75 | WE273K $27.52 |
Std-20- 30 40-60 |
L/D, Pick-up & Delivery Service; 2-3/32, 1-3/16 |
| KITS | ||||||
| RERING KIT | Qty | Premium Kit No. | Qty | Economy Kit No. | ||
| Years | Desc. | |||||
| 81-75 | L/D or pick-up & delivery use; Int. manifold gskt. not incl. | Re-ring | 1 | FP2056043 $497.45 | . | ----- |
| 81-75 | H/D or Highway use; Int. manifold gskt. not incl. | Re-ring | 1 | FP205705 $415.21 | . | ----- |
| 81-75 | Nat. Gas or LPG; Int. manifold gskt. not incl. | Re-ring | . | ----- | 1 | FP205205 $465.09 |
| 37 |
H/D Truck MV446 Eng. (LPG or Natural Gas) 7.3L 446 OHV NG V8 (16 Valve), 4.125" Bore 1975-81 |
||||
| CYL. HEAD & PARTS | |||||
| Qty | VALVE | Years | Part No. | Size | Desc. |
| 8 | Intake | . | V2523 $29.64 | Std Only | Chrome plated stem; 2.0540" Head Dia., .3725" Stem Dia., 5.4670" O.A.L. |
| 8 | Exhaust | . | V2090X $36.38 | Std Only | Chrome plated stem; 1.5350" Head Dia., .3720" Stem Dia., 5.4820" O.A.L. |
| 32 | Keeper | . | FP41339 $1.16 | . | 1 groove; Square cut key groove |
| 32 | Keeper | . | VK138 $1.02 | . | 1 groove; Square cut key groove; Carton pack 32 |
| 32 | Keeper | . | VK138R $0.48 | . | 1 groove; Square cut key groove; Hardened |
| Qty | VALVE SEAT | Years | Part No. | Size | Desc. |
| 8 | Int. | . | 245-2125-1 $7.88 | Std Only | 2.1305" OD, 1.8125" ID, .2480" Depth |
| Qty | VALVE GUIDE | Years | Part No. | Size | Desc. |
| 16 | Guide | . | VG660 $4.76 | . | .3745" ID, 2.6000" O.A.L. |
| Qty | VALVE SPRING | Years | Part No. | Size | Desc. |
| 16 | Spring | . | FP317365 | . | Incl. damper; 2.0500" Free Height |
| Qty | PUSH RODS | Years | Part No. | Size | Desc. |
| 16 | Push Rod | . | RP3201 $5.14 | . | 10.3460" O.A.L. |
| Qty | VALVE SEAL | Years | Part No. | Size | Desc. |
| 16 | Valve Stem Seal | . | ST2002 $3.36 | . | Installation requires valve guide machining; Polyacrylate |
| 16 | Valve Stem Seal | . | FP156541 $2.69 | . | Installation requires valve guide machining; Polyacrylate |
| 16 | Valve Stem Seal Bulk | . | ST2002BC $2.76 | . | Positive type; Installation requires valve guide machining; Carton of 100; Polyacrylate |
| Camshaft GROUP | |||||
| Qty | TIMING | Years | Part No. | Size | Desc. |
| 1 | Gear Set | . | 221-3335S $133.73 | . | Incl. 1 221-3329A, 1 221-3334. |
| Qty | Camshaft / Lifter | Years | Part No. | Size | Desc. |
| 16 | Lifter | . | FP446571 $7.58 | . | Hyd.; w/2 grooves |
| 1 | Prelube | . | 55-400 $7.22 | . | 4 oz. bottle; 1.5 oz. packet No. 55-403 $2.30 also avail. |
| ENGINE BLOCK & PARTS | |||||
| Qty | Gaskets | Years | Part No. | Size | Desc. |
| 1 | Oil Pan Gasket Set | 81-75 | 260-6054 | . | . |
Page 105
International/Navistar Truck
|
43 (cont.) |
H/D Truck D466 Eng. 7.6L 466 OHV Diesel L6 (12 Valve), 4.3005" Bore 1975-83 |
|||||
| CYL. HEAD & PARTS (cont.) | ||||||
| Ref # | Qty | Gaskets (cont.) | Years | Part No. | Size | Desc. |
| 2 | 6. | Grommet | 83-75 | FP677692 $2.00 | . | Valve Cover Bolt |
| 3 | 1 | Valve Cover Gasket | 83-75 | FP675109 $15.73 | . | . |
| 5 | 1 | Head Gasket | 83-75 | FP1819547 $68.15 | . | . |
| . | 1 | Head gasket set | 83-75 | FP1808973 $179.59 | . | . |
| Ref # | Qty | VALVE | Years | Part No. | Size | Desc. |
| 19 | 6. | Intake | 83-75 | FP675046 $20.59 | . | . |
| 20 | 6. | Exhaust | 83-75 | FP676865 $25.30 | . | . |
| 24 | 24 | Keeper | 83-75 | FP41339 $1.16 | . | 1 groove; Square cut key groove |
| 24 | 24 | Keeper | 83-75 | VK138 $1.02 | . | 1 groove; Square cut key groove; Carton pack 32 |
| 24 | 24 | Keeper | 83-75 | VK138R $0.48 | . | 1 groove; Square cut key groove; Hardened |
| Ref # | Qty | VALVE SEAT | Years | Part No. | Size | Desc. |
| 25 | 6. | Exh. | 83-75 | FP671563 $17.27 | 2 | . |
| 25 | 6. | Exh. | 83-75 | FP671565 $14.15 | 15 | . |
| 25 | 6. | Int. | 83-75 | FP671559 $14.25 | 2 | . |
| 25 | 6. | Int. | 83-75 | FP671561 $8.03 | 15 | . |
| Ref # | Qty | VALVE GUIDE | Years | Part No. | Size | Desc. |
| 26 | 12 | Guide | 83-75 | FP675439 $7.47 | . | 2.750" O.A.L.; .3745" ID, 2.7500" O.A.L. |
| Ref # | Qty | VALVE SPRING | Years | Part No. | Size | Desc. |
| 27 | 12 | Spring | 83-75 | FP682064 $7.38 | . | To Ser. No. 74999; 2.3400" Free Height |
| Ref # | Qty | PUSH RODS | Years | Part No. | Size | Desc. |
| . | 12 | Push Rod | 83-75 | FP675621 $18.91 | . | To Ser. No. 532980; 11.4000" O.A.L. |
| Ref # | Qty | VALVE MISC. | Years | Part No. | Size | Desc. |
| 32 | 6. | Rotocap Assy. | 83-75 | FP1811581 $15.82 | . | Exh. |
| Ref # | Qty | VALVE SEAL | Years | Part No. | Size | Desc. |
| 41 | 12 | Valve Stem Seal | 83-75 | FP1815374 $4.29 | . | From Ser. No. 594840 |
| 41 | 12 | Valve Stem Seal | 83-75 | FP681234 $1.02 | . | To Ser. No. 594839; Umbrella type |
|
43 (cont.) |
H/D Truck D466 Eng. 7.6L 466 OHV Diesel L6 (12 Valve), 4.3005" Bore 1975-83 |
||
| INT & EXH MANIFOLDS | |||
|
|
| Ref # | Qty | Int. & Exh. Manifolds | Years | Part No. | Size | Desc. |
| 4 | 1 | Intake Manifold Gasket | 83-75 | FP682199 $15.68 | . | . |
|
43 (cont.) |
H/D Truck D466 Eng. 7.6L 466 OHV Diesel L6 (12 Valve), 4.3005" Bore 1975-83 |
|||||
| Camshaft GROUP | ||||||
|
|
||||||
| Ref # | Qty | TIMING | Years | Part No. | Size | Desc. |
| 24 | 1 | Cam Gear | 83-75 | FP675600 $158.41 | . | 66 Teeth |
| Ref # | Qty | Camshaft TIMING | Years | Part No. | Size | Desc. |
| 42 | 1 | Woodruff Key | 83-75 | FP218211 $2.70 | . | Cam gear; 1/4" x 3/4" |
| Ref # | Qty | Camshaft / Lifter | Years | Part No. | Size | Desc. |
| 54 | 12 | Lifter | 83-75 | FP911776 $14.09 | . | Mech.; .997" dia. body |
| FUEL SYSTEM & PARTS | ||||||
| . | Qty | FUEL Injection | Years | Part No. | Size | Desc. |
| . | 6. | Fuel Injector Sleeve | 83-75 | FP675442 $11.91 | . | . |
|
43 (cont.) |
H/D Truck D466 Eng. 7.6L 466 OHV Diesel L6 (12 Valve), 4.3005" Bore 1975-83 |
|||
| COOLING SYSTEM | ||||
|
|
| Ref # | Qty | Thermostat | Years | Part No. | Size | Desc. |
| 22 | 1 | Thermostat Gasket | 75-83 | FP675384 $1.86 | . | . |
|
43 (cont.) |
H/D Truck D466 Eng. 7.6L 466 OHV Diesel L6 (12 Valve), 4.3005" Bore 1975-83 |
|||||
| ENGINE BLOCK & PARTS | ||||||
|
|
||||||
| Ref # | Qty | Gaskets | Years | Part No. | Size | Desc. |
| 5 | 1 | Oil Pan Gasket | 83-75 | FP671825 $34.76 | . | . |
| Ref # | Qty | GASKET SETS | Years | Part No. | Size | Desc. |
| . | 1 | Lower Gasket Set | 83-75 | FP674399 $165.30 | . | Crankshaft seals not incl. |
| Ref # | Qty | Cam Bearings | Years | Part No. | Size | Desc. |
| 19 | 1 | Cam Set | 83-75 | FP680117 $38.02 | STD | . |
|
43 (cont.) |
H/D Truck D466 Eng. 7.6L 466 OHV Diesel L6 (12 Valve), 4.3005" Bore 1975-83 |
|||||
| Crankshaft/OIL PUMP | ||||||
|
|
||||||
| Ref # | Qty | Crankshaft | Years | Part No. | Size | Desc. |
| 1 | 1 | Crankshaft | 83-75 | FP675669 $2,752.23 | . | . |
| Ref # | Qty |
SEALS - REAR CRANK |
Years | Part No. | Size | Desc. |
| 8 | 1 | Oil Seal Kit | 83-75 | FP1809964 $39.56 | . | Incl. seal & wear sleeve |
| Ref # | Qty | Main bearings | Years | Part No. | Size | Desc. |
| 37 | 1 | Main Set | 83-75 | FP1823847 $278.09 | STD | Narrow |
| 37 | 1 | Main Set | 83-75 | FP1823848 $317.90 | 10 | Narrow |
| 37 | 1 | Main Set | 83-75 | FP1823849 $325.74 | 20 | Narrow |
| 37 | 1 | Main Set | 83-75 | FP1823850 $327.35 | 30 | Narrow |
| Ref # | Qty | OIL PUMP | Years | Part No. | Size | Desc. |
| 31 | 1 | Oil Inlet Elbow Gasket | 83-75 | FP671821 $2.91 | . | Oil inlet elbow |
Page 115
International/Navistar Truck
|
43 (cont.) |
H/D Truck D466 Eng. 7.6L 466 OHV Diesel L6 (12 Valve), 4.3005" Bore 1975-83 |
|||||
| CYLINDER COMPONENTS | ||||||
|
|
||||||
| Ref # | Qty | Liners | Years | Part No. | Size | Desc. |
| 1 | 6. | Piston & Liner Kit w/o Rings | 83-75 | FP1802580 $308.35 | . | To Ser. No. 74999; 15.2:1 C.R. |
| 3 | 6. | Cylinder Kit Complete | 83-75 | FP687432 $309.97 | STD | To Ser. No. 74999; For Engs. equipped w/side mounted breather; 15.2:1 C.R. |
| Ref # | Qty | Pistons | Years | Part No. | Size | Desc. |
| 13 | 6. | Piston Body w/o Pin | 83-75 | FP684255 $163.60 | . | To. Ser. No. 74999; 15.2:1 C.R. |
| Ref # | Qty |
Connecting RODS & BRGS. |
Years | Part No. | Size | Desc. |
| 27 | 6. | Rod Pair | 83-75 | FP681314 $17.43 | STD | Narrow |
| 27 | 6. | Rod Pair | 83-75 | FP681315 $18.84 | 10 | Narrow |
| 27 | 6. | Rod Pair | 83-75 | FP687382 $18.84 | 20 | Narrow |
| 27 | 6. | Rod Pair | 83-75 | FP681316 $18.84 | 30 | Narrow |
| 27 | 6. | Rod Pair | 83-75 | FP68131440 $22.41 | 40 | Narrow |
| Ref # | Qty | PISTON RINGS | Years | Part No. | Size | Desc. |
| 33 | 6. | Ring Set Single Cylinder | 83-75 | FP684256 $65.06 | STD | Engs. w/side mounted breather; 2-1/8, 1-1/4; Incl. narrow gap intermediate rings |
| . | 1 | Premium Set | 83-75 | FP684256S $387.72 | STD | Engs. w/side mounted breather; 2-1/8, 1-1/4; Incl. narrow gap intermediate rings |